Found 7 drawing images for 'Adaptive'

1236x932 Adaptive Divergence And The Balance Between Selection And Gene
1236x932 Adaptive Divergence And The Balance Between Selection And Gene
350x350 Rifton Adaptive Tricycle
350x350 Rifton Adaptive Tricycle
518x524 Adaptive Paddle 5 Steps (With Pictures)
518x524 Adaptive Paddle 5 Steps (With Pictures)
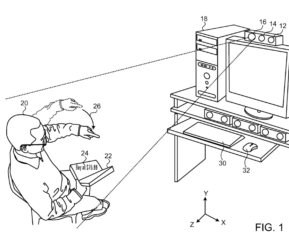
1000x819 Apple's Adaptive Projector Patent Mentions Smart Glasses And 3d
1000x819 Apple's Adaptive Projector Patent Mentions Smart Glasses And 3d
565x800 Us Motor Bank Adaptive Reuse Portland,
565x800 Us Motor Bank Adaptive Reuse Portland,
1632x714 Adaptive Morphology Amp Sensation
1632x714 Adaptive Morphology Amp Sensation
2747x1919 Blood Fluke Trolley Adaptive Diversity
2747x1919 Blood Fluke Trolley Adaptive Diversity

All rights to the published drawing images, silhouettes, cliparts, pictures and other materials on GetDrawings.com belong to their respective owners (authors), and the Website Administration does not bear responsibility for their use. All the materials are for personal use only. If you find any inappropriate content or any content that infringes your rights, and you do not want your material to be shown on this website, please contact the administration and we will immediately remove that material protected by copyright.