Found 32 drawing images for 'Closing'

744x939 Silent Soft Closing Drawer,self Closing Concealed Drawer Slide
744x939 Silent Soft Closing Drawer,self Closing Concealed Drawer Slide
960x720 Closing Entries And Post Closing Trial Balance
960x720 Closing Entries And Post Closing Trial Balance
840x945 Closing The Door On Immigration (U.s. National Park Service)
840x945 Closing The Door On Immigration (U.s. National Park Service)
750x940 Closing In Marines In The Seizure Of Iwo Jima (Assault Preparations)
750x940 Closing In Marines In The Seizure Of Iwo Jima (Assault Preparations)
376x229 Change Of Subject Jesse Owens Family Objects To Proposed Closing
376x229 Change Of Subject Jesse Owens Family Objects To Proposed Closing
400x400 Closing In On Tp53 Mutations In Lung Cancer
400x400 Closing In On Tp53 Mutations In Lung Cancer
566x367 Closing Pandora's Box Pro Life Philippines
566x367 Closing Pandora's Box Pro Life Philippines
500x375 Closing Bell Pigeons And Gentrification Brownstoner
500x375 Closing Bell Pigeons And Gentrification Brownstoner
840x945 Closing The Door On Immigration (U.s. National Park Service)
840x945 Closing The Door On Immigration (U.s. National Park Service)
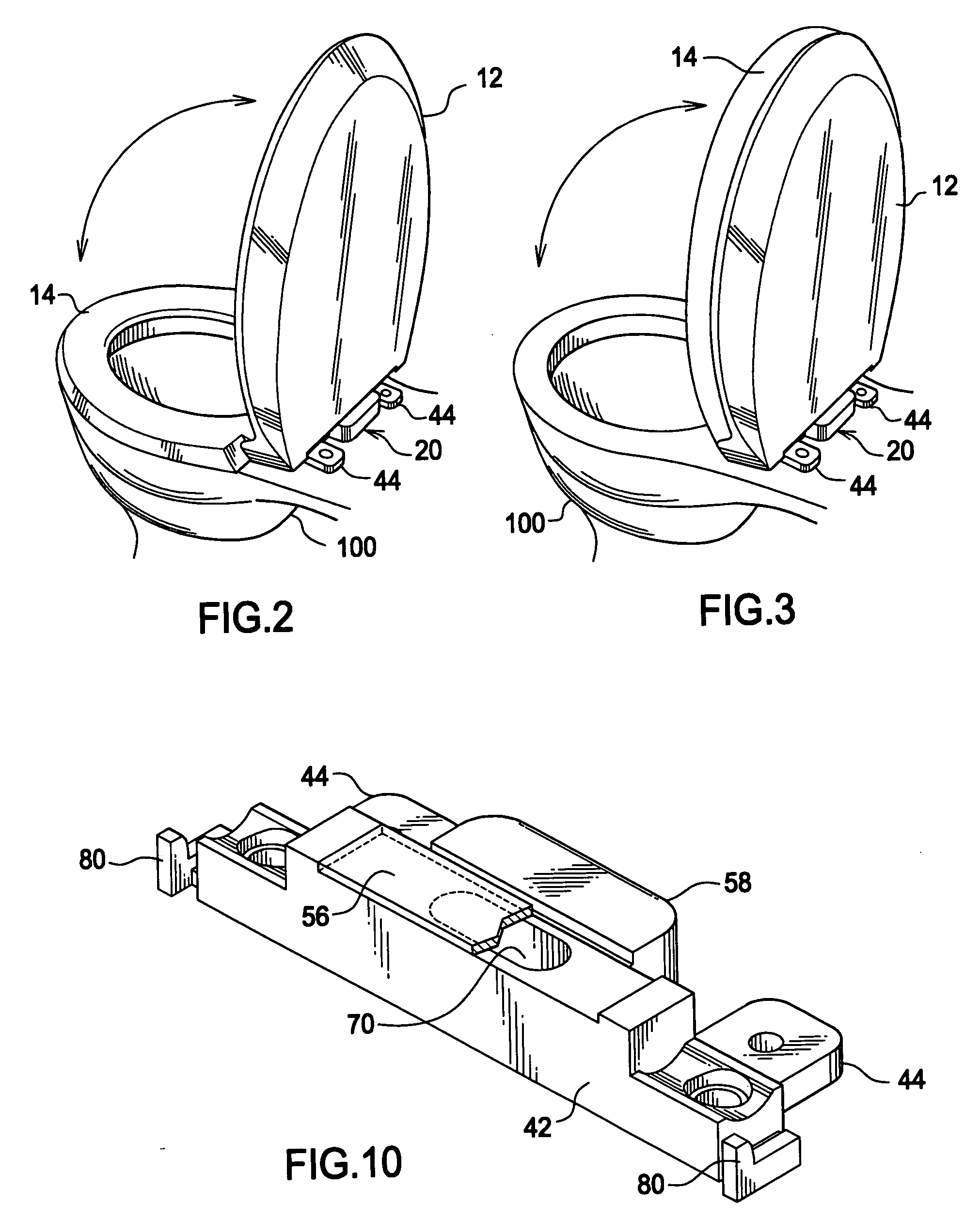
2022x2517 Automatic Self Closing Toilet Seat Images
2022x2517 Automatic Self Closing Toilet Seat Images
720x960 Christmas Angel Closing Eyes Christmas Angels Kids Net
720x960 Christmas Angel Closing Eyes Christmas Angels Kids Net
409x493 Combat The Closing Techniques
409x493 Combat The Closing Techniques
450x450 Metal Beer Cap.lid For Closing Bottles Pub Single Icon
450x450 Metal Beer Cap.lid For Closing Bottles Pub Single Icon
720x960 Christmas Angel Closing Eyes Christmas Angels Kids Net
720x960 Christmas Angel Closing Eyes Christmas Angels Kids Net
539x640 Boy Closing Door Clipart Etc
539x640 Boy Closing Door Clipart Etc
329x350 Picture Of White Polar Bear Sitting Down Closing It's Eyes In
329x350 Picture Of White Polar Bear Sitting Down Closing It's Eyes In
840x945 Closing The Door On Immigration (U.s. National Park Service)
840x945 Closing The Door On Immigration (U.s. National Park Service)
720x960 Christmas Angel Closing Eyes Christmas Angels Kids Net
720x960 Christmas Angel Closing Eyes Christmas Angels Kids Net
640x666 Lettering letterstoliveby closing signlettering script art artwork
640x666 Lettering letterstoliveby closing signlettering script art artwork
1280x720 Opening Amp Closing To Elmo's World Singing, Drawing Amp More 2000 Dvd
1280x720 Opening Amp Closing To Elmo's World Singing, Drawing Amp More 2000 Dvd
250x249 Closing The Gap With Social Media
250x249 Closing The Gap With Social Media
960x720 Chapter 10 Adjusting And Closing Entries. Recording Adjusting
960x720 Chapter 10 Adjusting And Closing Entries. Recording Adjusting
960x720 Closing The Accounting Cycle
960x720 Closing The Accounting Cycle
474x267 This Air Jordan 11 Low Is Inspired By The 2016 Olympic Closing
474x267 This Air Jordan 11 Low Is Inspired By The 2016 Olympic Closing
480x360 Closing To Baby Einstein Language Nursery Late 1998 Vhs
480x360 Closing To Baby Einstein Language Nursery Late 1998 Vhs
474x267 This Air Jordan 11 Low Is Inspired By The 2016 Olympic Closing
474x267 This Air Jordan 11 Low Is Inspired By The 2016 Olympic Closing
960x720 Chapter 8 Adjusting And Closing Entries
960x720 Chapter 8 Adjusting And Closing Entries
960x720 Recording Adjusting And Closing Entries For A Service Business
960x720 Recording Adjusting And Closing Entries For A Service Business
663x1024 Do I Need A Plot Plan Or Site Plan For Real Estate Closing 24h
663x1024 Do I Need A Plot Plan Or Site Plan For Real Estate Closing 24h
1300x1276 Hand Drawing Of A Hand Pointing Upwards Closing On Graph Paper
1300x1276 Hand Drawing Of A Hand Pointing Upwards Closing On Graph Paper
1800x1200 More Perspective Drawings While Closing In Onppointment
1800x1200 More Perspective Drawings While Closing In Onppointment
721x420 A Guide To The Debate Over Closing Nuclear Plants Greentech Media
721x420 A Guide To The Debate Over Closing Nuclear Plants Greentech Media

All rights to the published drawing images, silhouettes, cliparts, pictures and other materials on GetDrawings.com belong to their respective owners (authors), and the Website Administration does not bear responsibility for their use. All the materials are for personal use only. If you find any inappropriate content or any content that infringes your rights, and you do not want your material to be shown on this website, please contact the administration and we will immediately remove that material protected by copyright.