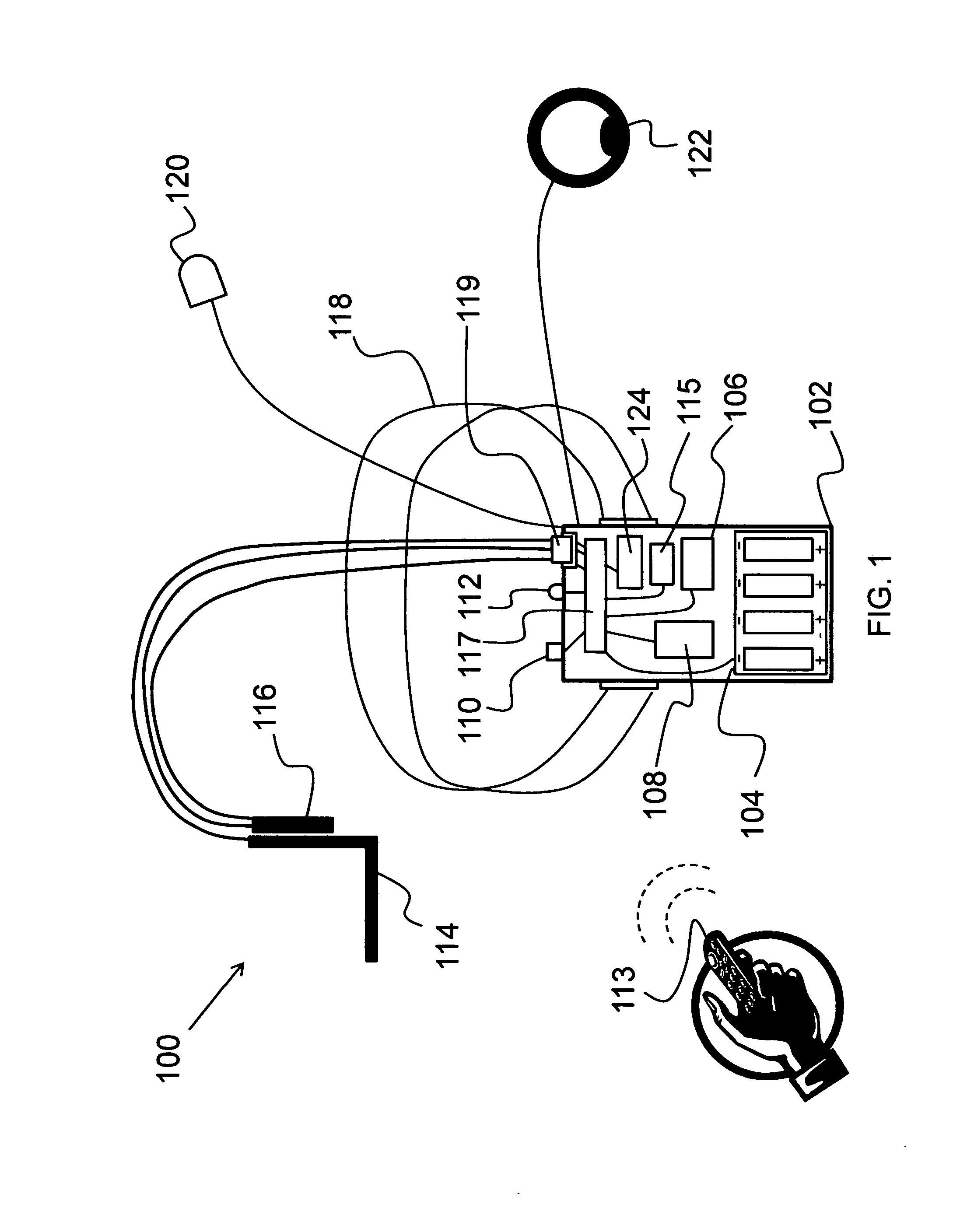
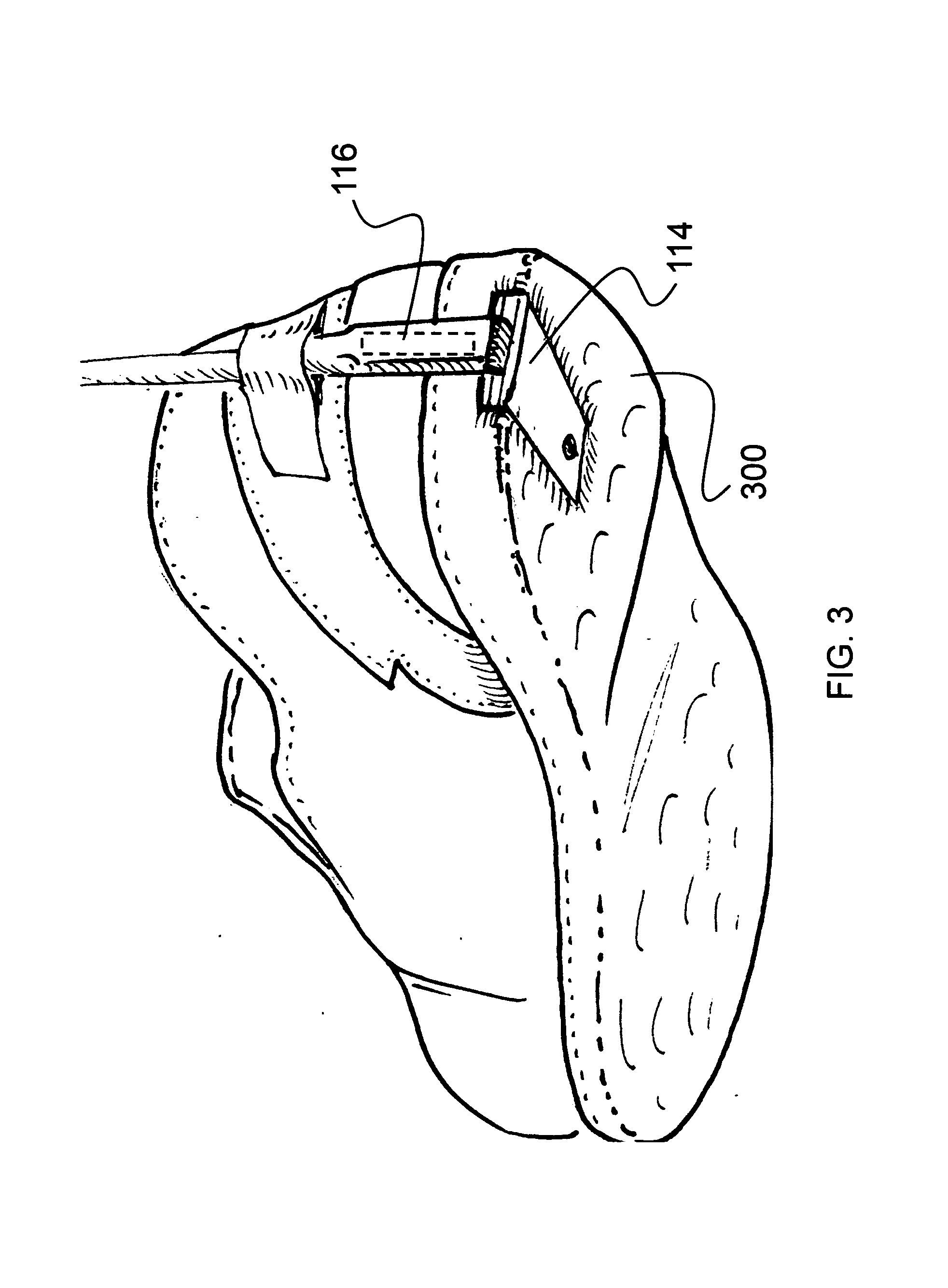
Found 3 drawing images for 'Concealable'

2194x2816 Patent Us20080253055 Concealable Electric Shock Device Google
2194x2816 Patent Us20080253055 Concealable Electric Shock Device Google
1804x2175 Patent Us7835132 Concealable Electric Shock Device Google Patents
1804x2175 Patent Us7835132 Concealable Electric Shock Device Google Patents
1964x2669 Patent Us20080253055 Concealable Electric Shock Device Google
1964x2669 Patent Us20080253055 Concealable Electric Shock Device Google

All rights to the published drawing images, silhouettes, cliparts, pictures and other materials on GetDrawings.com belong to their respective owners (authors), and the Website Administration does not bear responsibility for their use. All the materials are for personal use only. If you find any inappropriate content or any content that infringes your rights, and you do not want your material to be shown on this website, please contact the administration and we will immediately remove that material protected by copyright.