Found 53 drawing images for 'Hiding'
450x318 Vector Funny Kids Reading. Boy Hiding Behind Book, Girl Hiding
450x456 Hiding Turkey. Cartoon Turkey Hiding With Paper Bag Over Its
1024x851 Sun Hiding Behind Cloud Stock Vector Hittoon
1024x1044 Vector Of A Scared Ghost Hiding Behind A Tombstone
4557x3223 Horny Toad Hiding In The Grass The Owlet's Scritch
450x470 Smiling Asian Girl Hiding Her Face Vector Amp Photo Bigstock
600x703 Komodo Dragon Hiding Behind Grass Coloring Pages Komodo Dragon
600x759 Wolf Hiding Behind Tree In Little Red Riding Hood Coloring Pages
600x794 A Monkey Hiding On A Tree Coloring Page
550x550 Hiding In Plain Sight Iapa
650x900 Hiding
600x418 The Sun Hiding Behind Clouds Coloring Page
600x418 The Sun Hiding Behind Clouds Coloring Page
4557x3223 Horny Toad Hiding In The Grass The Owlet's Scritch
361x265 Hiding In Shell
600x841 Buzz Lighyear Is Hiding Behind The Box Toy Story Coloring Pages
500x500 Image Result For Anime Monochrome Hiding Face Ugly (Cool Sketches
555x700 Free, Printable Turtle Hiding In Its' Shell Coloring Page For Kids
361x265 Hiding In Shell
500x500 Image Result For Anime Monochrome Hiding Face Ugly (Cool Sketches
1280x1714 Image Result For Anime Monochrome Hiding Face Ugly (Cool Sketches
1024x1044 Vector Of A Scared Ghost Hiding Behind A Tombstone
450x450 Retro Clipart Of A Vintage Teenage Boy Hiding Behind Books While
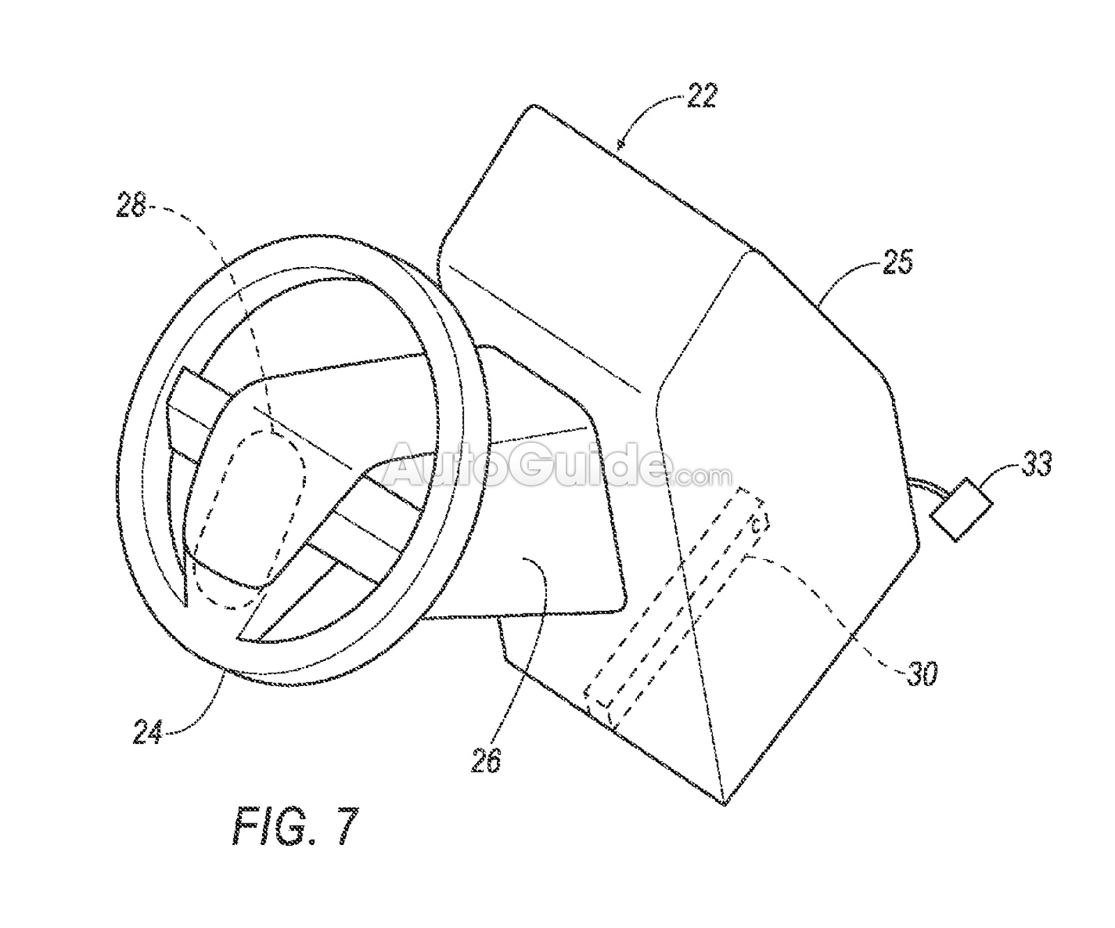
1600x1331 Here's How Ford Plans On Hiding The Steering Wheelnd Pedals In
600x841 Rex Buzz And Mr Potato Head Are Hiding Behind The Door Toy Story
600x418 The Sun Hiding Behind Clouds Coloring Page
1300x1057 Cute Easter Bunny Hiding Eggs. Coloring Page Royalty Free Cliparts
800x651 Cute Easter Bunny Hiding Eggs. Coloring Page Stock Vector
364x470 How To Get Your Hamster To Stop Hiding Hubpages
1300x1057 Cute Easter Bunny Hiding Eggs. Coloring Page Royalty Free Cliparts
507x602 Adam And Eve Hiding From God Coloring Page
600x840 Sheriff Car Hiding Behind Billboard In Disney Cars Coloring Page
500x500 Image Result For Anime Monochrome Hiding Face Ugly (Cool Sketches
800x800 Smiling Asian Girl With Dark Hairs Hiding Her Face Under
765x1271 Activities Hunting Hunter Is Hiding In A Bamboo Forest Hunting
600x794 A Monkey Hiding On A Tree Coloring Page
300x250 Not Exinct, Just Hiding In Narwhals
350x450 Outline Cartoon Of Fly Hiding Inside Open Zipper Royalty Free
1024x1536 Hiding Behind A Mask Art
900x839 Two Businessmen Shaking Hands With Bombs Hiding In Hands Drawing
1000x715 Why, Yes, I Have Been Hiding From The Internet Under A Rock Sean
900x839 Two Businessmen Shaking Hands With Bombs Hiding In Hands Drawing
300x250 Dragon Hiding In A Doghouse
900x839 Two Businessmen Shaking Hands With Bombs Hiding In Hands Drawing
900x839 Two Businessmen Shaking Hands With Bombs Hiding In Hands Drawing
236x294 Art, Artistic, Beautiful, Dark, Draw, Drawing, Hiding, Meaning
500x500 Image Result For Anime Monochrome Hiding Face Ugly (Cool Sketches
500x500 Image Result For Anime Monochrome Hiding Face Ugly (Cool Sketches
500x500 Image Result For Anime Monochrome Hiding Face Ugly (Cool Sketches
500x500 Image Result For Anime Monochrome Hiding Face Ugly (Cool Sketches

All rights to the published drawing images, silhouettes, cliparts, pictures and other materials on GetDrawings.com belong to their respective owners (authors), and the Website Administration does not bear responsibility for their use. All the materials are for personal use only. If you find any inappropriate content or any content that infringes your rights, and you do not want your material to be shown on this website, please contact the administration and we will immediately remove that material protected by copyright.