Found 343 drawing images for 'Led'
950x734 Led Rock Light 6 Connector Hub Led Light Modules Led Accent
404x399 120cm Nylon Pet Led Dog Leash Night Safety Led Flashing Glow Led
800x800 120cm Nylon Pet Led Dog Leash Night Safety Led Flashing Glow Led
450x500 Maxim 39108bcpn Equinox Led Led 40 Inch Polished Nickel Pendant
478x524 Man 3d Led Illusion Free Dxf File Download File Size 137 Kb Led
640x640 Buy Cheap China Led Light 4 Inch Products, Find China Led Light 4
256x300 Led Sensor Light M.t.c Canada Led Lights
640x615 Came Tv 576d Daylight Led Panels (4 Piece Set) Led Videl Light
680x513 Narrow Beam Led Lens Transparent Single Lens For Led Wall Washer
512x228 Led Light, Solar Led Light, Solar System
700x700 Mic 900 Led Usb Cardioid Studio Condenser Microphone Led Black
560x425 Photocell Ul Dlc Led Shoe Box Light Led Street Light
800x600 Kiya Lighting Stage Lighting,dj Lights,truss,led Par Can,led Screen
400x387 New Arrivel Led Stage Lighting Led Par Lights Available Battery
1000x1000 Tiptop Tp P103b 18x18w Led Uplighting Par Rgbwap Led Dmx Wash
760x1075 Low Price Decorative Led Step Light Park And Steps Decoration Led
477x788 Parcel In The Attic Outdoor Led Cherry Blossom Tree With Led Fairy
990x492 Best White Led Driver Circuit Diagram Cheapest High Power Led
478x524 Man 3d Led Illusion Free Dxf File Download File Size 137 Kb Led
478x524 Man 3d Led Illusion Free Dxf File Download File Size 137 Kb Led
236x236 All You Need Is Led Deco Led Light
500x500 1.5x120cm Pink Color Nylon Pet Led Dog Leash Night Safety Led
730x547 120cm Nylon Pet Led Dog Leash Night Safety Flashing Glow Led Pet
496x522 3d Led Illusion Free Dxf File Download File Size 122 Kb Led
430x527 Led Illusion Free Dxf File Download File Size 155 Kb Led
640x640 Huion L4s A4 Led Light Tables Led Drawing Light Pad Tracing
800x800 Led Drawing Tablet, Led Drawing Tablet Suppliers And Manufacturers
700x1011 Led Light Tracing Drawing Table Copy Board Light Box Led Drawing
936x702 Led Wooden Wall Design Led Tv Cabinet Designs Photos Wall Unit
800x638 Unbelievable Weston 40 Hd Led Tv @ The Price Of A 20 Led Tv
750x750 Led Tracing Light Table Drawing A4 Sketch Gge Tattoo Led Light A3
300x300 Pratical A4 Led Light Pad Copy Pad Drawing Tablet Led Tracing
650x650 Huion L4s A4 Led Light Tables Led Drawing Light Pad Tracing
700x700 7 Inch Led Headlight,jeep Wrangler Led Headlamp,jeep Lights
900x900 Impressions Vanity Co. Bijou Led Hand Mirror With Charging Stand
338x355 11 Battery Operated Lighted Led Blue Star Of David
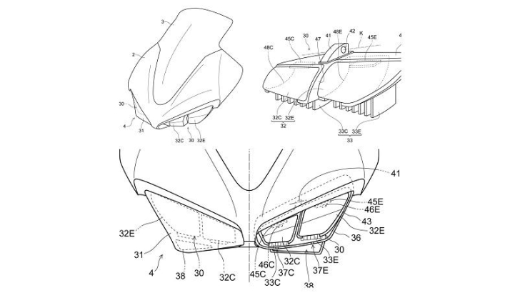
728x410 New Honda Cbr1000rr Will Have Led Headlights, Leaked Sketch Tells
236x354 36 Inch Ice Crystal Snowflake With Led Lights, White Ice
300x263 720 Chasing Effect Micro Icicle Led Hanging Christmas Lights White
1500x1500 Solar Powered Outdoor 120 Led Icicle String Lights
236x314 Luminous Led Light Selfie Lumee Phone Cases For Iphone 5 5s Se 6
1500x1500 23 Led Lighted Japanese Sakura Blossom Flower Tree Multi Color
1500x1500 I Rocks Back Lit Led Stylish White Usb Keyboard
800x800 Rk61 Mini 60% White Led Bluetooth Mechanical Keyboard Wireless
1200x1200 Led Post Lights Outdoor Victorian Bulb Double Downward Hanging
1043x1043 Monthly Archived On February 2018 Drawing Table Lamps Led Lamp
425x425 Led Desk Lamp, Hapurs 2 In 1 (Stand On Own Amp Clip
1163x1200 10 Pack Nicor Dlr56 2709 120 Wh Led Recessed Downlight
736x1023 59 Best Miss Led Images On Homemade Ice, Art Drawings
900x900 9w Brass Led Spike Light 3 Lumo

All rights to the published drawing images, silhouettes, cliparts, pictures and other materials on GetDrawings.com belong to their respective owners (authors), and the Website Administration does not bear responsibility for their use. All the materials are for personal use only. If you find any inappropriate content or any content that infringes your rights, and you do not want your material to be shown on this website, please contact the administration and we will immediately remove that material protected by copyright.