Found 73 drawing images for 'Pillar'
320x305 Roman Pillar Icon. Outline Illustration Of Roman Pillar Vector
450x432 135 Pillar Top Stock Vector Illustration And Royalty Free Pillar
640x480 Roman Pillar, View Roman Pillar, Anxin Product Details From Quyang
495x600 Kilnasaggart Pillar Stonemegalithic Monuments
500x500 Etoplighting Aluminum Outdoor Post Pillar Outdoor Light With 3
1536x2048 Dragon Pillar By Liquid Mongoose
1536x2048 Dragon Pillar By Liquid Mongoose
208x242 14 Best Pillar Capitals Images On Gothic Architecture
941x1280 Andrew Pen And Ink Sketch Of Kevin Pillar Batting Https
1300x1300 Antique Column Icon. Ancient Museum Sign. Architectural Pillar
1043x1300 Antique Column Pillar Royalty Free Cliparts, Vectors, And Stock
900x921 Ariel Pillar By Kt Jadeblaze
800x600 B Pillar Trim Black Right Side Oem
1019x1319 Church House Collection Blog Lot's Wife Turned Into A Pillar
1536x2048 Dragon Pillar By Liquid Mongoose
640x506 Genuine Volvo Xc90 Windshield Pillar Trim 39883678 Ebay
495x600 Kilnasaggart Pillar Stonemegalithic Monuments
774x1032 Mendesian Djed Pillar Coloring Sheet By Warboar
402x364 Pillar Designs Photos, Avadi, Chennai Pictures Amp Images Gallery
618x824 Pillar Of Cloud And Fire Coloring Pages
900x701 Pillar Of Autumn By Tozoa
1200x1200 Pillar Of Femininity (Pencil Study) Wilhelm
1200x1600 Pillar Of Fire And Cloud Coloring Page Free Printable Coloring Pages
1024x745 Pillar Of Autumn September 19. By Admiral Kevin
640x500 Pura Dv8 Chrome Finish Bath Pillar Taps
225x198 Volvo Oem 04 09 S60 Interior Winshield Pillar Trim Left 39856756
355x266 Patents An A Pillar You Can See Through
1800x2127 Reinforcement For Pillar
940x683 Five Pillars Of Islam Coloring Page Pillar Pillars Of Islam
208x242 Image Result For Gothic Square Pillars Pillar Capitals
900x911 Kida Pillar By Kt Jadeblaze
740x590 Left Hand Drive B Pillar Sections
750x500 Toyota Patents Transparent A Pillar Invention
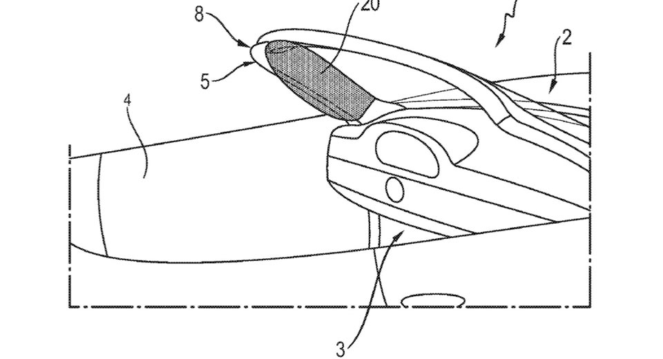
960x520 Porsche Patents A Pillar Airbags For Convertibles Carscoops
1200x1600 Pillar Of Fire And Cloud Coloring Page Free Printable Coloring Pages
1300x1300 Ancient Ionic Pillar Icon In Outline Style On A White Background
1043x1300 Antique Column Pillar Royalty Free Cliparts, Vectors, And Stock
450x372 Victorian Engraving Of A Gothic Pillar. Digitally Restored Image
347x340 Pillar
410x340 Pillar
1600x1580 Pillar Of Enoch Ministry Blog 2012
208x242 Image Result For Gothic Square Pillars Pillar Capitals
9934x7017 Pillar Designs Fire Protection Safety Consultancy
495x600 Kilnasaggart Pillar Stonemegalithic Monuments
740x590 Left Hand Drive B Pillar Sections
576x550 189 Best Bella Pillar Images On Fashion Illustrations
1043x1300 Antique Column Pillar Royalty Free Cliparts, Vectors, And Stock
450x372 Victorian Engraving Of A Gothic Pillar. Digitally Restored Image
1300x1300 Ancient Ionic Pillar Icon In Outline Style On A White Background
450x470 Clipart Of A Black And White Greek Pillar Column

All rights to the published drawing images, silhouettes, cliparts, pictures and other materials on GetDrawings.com belong to their respective owners (authors), and the Website Administration does not bear responsibility for their use. All the materials are for personal use only. If you find any inappropriate content or any content that infringes your rights, and you do not want your material to be shown on this website, please contact the administration and we will immediately remove that material protected by copyright.