Belt Buckle Drawing

ADVERTISEMENT

Full color drawing pics
450x330 Custom Belt Buckle
450x330 Custom Belt Buckle
480x480 Belt Buckles Fashion Flat Templates Illustrators, Fashion Flats
480x480 Belt Buckles Fashion Flat Templates Illustrators, Fashion Flats
450x470 Belt Buckle Sketch Icon Web, Vector Amp Photo Bigstock
450x470 Belt Buckle Sketch Icon Web, Vector Amp Photo Bigstock
1080x1080 Renzo Gracie Belt Buckle 3d Drawing Work In Progress
1080x1080 Renzo Gracie Belt Buckle 3d Drawing Work In Progress
422x422 Cateye Belt Buckle Shopping
422x422 Cateye Belt Buckle Shopping
422x422 Cute Watermelon Hand Drawn Pattern Belt Buckle
422x422 Cute Watermelon Hand Drawn Pattern Belt Buckle
324x324 Drawn Belt Buckles Zazzle
324x324 Drawn Belt Buckles Zazzle
422x422 Fancy Heart Belt Buckle
422x422 Fancy Heart Belt Buckle
3112x4096 Filedrawing, Design For A Belt Buckle With Peacock Motif, 1900
3112x4096 Filedrawing, Design For A Belt Buckle With Peacock Motif, 1900
1280x720 How To Draw Part 2 ( Ezio's Belt Buckle From Assassin's Creed) By
1280x720 How To Draw Part 2 ( Ezio's Belt Buckle From Assassin's Creed) By
1200x1500 Lyst
1200x1500 Lyst
422x422 Samurai Jui Jitsu Fighting Enso Drawing Rectangular Belt Buckle
422x422 Samurai Jui Jitsu Fighting Enso Drawing Rectangular Belt Buckle
236x236 Through The Window Belt Buckle
236x236 Through The Window Belt Buckle
236x236 Mini Car Rectangular Belt Buckle
236x236 Mini Car Rectangular Belt Buckle
Line drawing pics
1500x1500 Color Your Own Armor Of God Belt. Buckle Up Your Of Truth
1500x1500 Color Your Own Armor Of God Belt. Buckle Up Your Of Truth
1000x1000 888401w200hu Front Right Seat Belt Buckle For Kia Rio Pride Ebay
1000x1000 888401w200hu Front Right Seat Belt Buckle For Kia Rio Pride Ebay
640x629 Dodge Chrysler Oem 12 15 Journey Front Seat Belt Buckle End Left
640x629 Dodge Chrysler Oem 12 15 Journey Front Seat Belt Buckle End Left
2234x1594 Mustang Belt Buckle (2) Western Days September 8 9, 2017
2234x1594 Mustang Belt Buckle (2) Western Days September 8 9, 2017
1024x1320 Sand Removing Seat Belt Buckle
1024x1320 Sand Removing Seat Belt Buckle
600x483 13 2013 Dodge Ram 1500 Oem Seat Belt Buckle Receptacle Rear Inner
600x483 13 2013 Dodge Ram 1500 Oem Seat Belt Buckle Receptacle Rear Inner
300x228 2009 2013 Kia Sorento Front Passenger Seat Belt Buckle Latch 88840
300x228 2009 2013 Kia Sorento Front Passenger Seat Belt Buckle Latch 88840
450x450 259 Hand Drawn Buckle Stock Vector Illustration And Royalty Free
450x450 259 Hand Drawn Buckle Stock Vector Illustration And Royalty Free
1300x1300 3 Point Retractable Car Seat Lap Belt Buckle Extender Strap Safety
1300x1300 3 Point Retractable Car Seat Lap Belt Buckle Extender Strap Safety
691x532 Buckle Rage Unisex Enamel Cartoon Comic Voodoo Doll
691x532 Buckle Rage Unisex Enamel Cartoon Comic Voodoo Doll
300x221 Genuine Ford 6f9z 7460044 Bb Seat Belt Buckle Assembly
300x221 Genuine Ford 6f9z 7460044 Bb Seat Belt Buckle Assembly
300x221 Brand New Genuine Gm Oem Seat Belt Buckle Button Stop
300x221 Brand New Genuine Gm Oem Seat Belt Buckle Button Stop
1621x1855 Belt Mistholme
1621x1855 Belt Mistholme
1200x1200 Belt Buckle Coloring Pages Rodeo Belt Buckle Outlines
1200x1200 Belt Buckle Coloring Pages Rodeo Belt Buckle Outlines
640x1038 Dodge Chrysler Oem Nitro Front Seat Belt Buckle Retractor Assy
640x1038 Dodge Chrysler Oem Nitro Front Seat Belt Buckle Retractor Assy
236x236 Draw A Leprechaun Belt Buckles, Hair And Leprechaun
236x236 Draw A Leprechaun Belt Buckles, Hair And Leprechaun
549x455 Entry
549x455 Entry
2952x2244 Fast Belt
2952x2244 Fast Belt
456x570 Giuseppe Zanotti Men's Signature Leather Logo Belt Neiman Marcus
456x570 Giuseppe Zanotti Men's Signature Leather Logo Belt Neiman Marcus
419x640 Jeep Chrysler Oem Front Seat Belt Buckle Retractor Assy Left
419x640 Jeep Chrysler Oem Front Seat Belt Buckle Retractor Assy Left
640x978 Jeep Chrysler Oem Front Seat Belt Buckle Retractor Assy Right
640x978 Jeep Chrysler Oem Front Seat Belt Buckle Retractor Assy Right
640x608 Jeep Chrysler Oem Liberty Front Seat Belt Buckle Retractor Assy
640x608 Jeep Chrysler Oem Liberty Front Seat Belt Buckle Retractor Assy
268x201 Kia Sedona Rear Seat Belt Buckle Repair Procedures
268x201 Kia Sedona Rear Seat Belt Buckle Repair Procedures
1200x1500 Lyst
1200x1500 Lyst
670x362 Mazda Cx 5 Service Amp Repair Manual
670x362 Mazda Cx 5 Service Amp Repair Manual
822x973 Pride Of Eastmarch ~ Stormcloak Belt Buckle Idea By Bagcartel
822x973 Pride Of Eastmarch ~ Stormcloak Belt Buckle Idea By Bagcartel
600x348 Bmw Belt Buckle Partnumber 52107009662
600x348 Bmw Belt Buckle Partnumber 52107009662
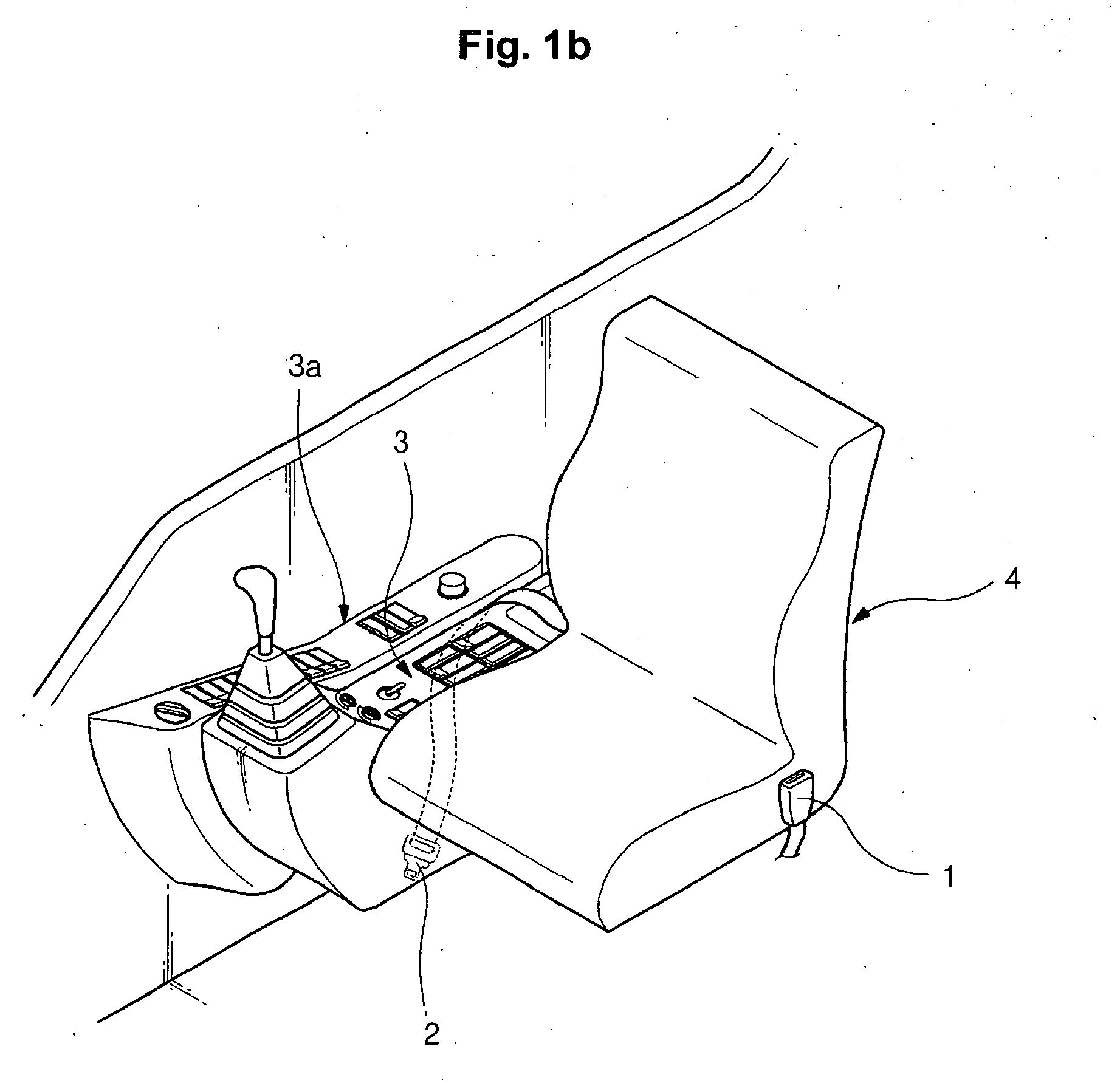
1843x1783 Patent Ep1914127a1
1843x1783 Patent Ep1914127a1
517x701 Replacing Passenger Seat Belt Buckle
517x701 Replacing Passenger Seat Belt Buckle
480x480 Scottish And Celtic Belt Buckles Tappit Hen Gallery Scottish
480x480 Scottish And Celtic Belt Buckles Tappit Hen Gallery Scottish
236x314 Silver Metal Slide Belt Buckle Sense Electric
236x314 Silver Metal Slide Belt Buckle Sense Electric
800x926 This Belt Buckle Turns Into A Great Multi Tool With 12 Tools
800x926 This Belt Buckle Turns Into A Great Multi Tool With 12 Tools
900x1200 Versus Versace White Leather Buckle Belt
900x1200 Versus Versace White Leather Buckle Belt
1024x779 Western Belt Buckle With Horse Stock Vector Ronjoe
1024x779 Western Belt Buckle With Horse Stock Vector Ronjoe
419x558 Women's Belts Skinny, Chain Amp Stretch Belts Nyampc
419x558 Women's Belts Skinny, Chain Amp Stretch Belts Nyampc

Tags: belt, buckle

All rights to the published drawing images, silhouettes, cliparts, pictures and other materials on GetDrawings.com belong to their respective owners (authors), and the Website Administration does not bear responsibility for their use. All the materials are for personal use only. If you find any inappropriate content or any content that infringes your rights, and you do not want your material to be shown on this website, please contact the administration and we will immediately remove that material protected by copyright.

shutterstock thanksgiving day

Step by Step Tutorials

Drawing Hacks