Pavement Drawing

ADVERTISEMENT

Full color drawing pics
625x613 33 Brain Melting Works Of 3 D Sidewalk Chalk Art
625x613 33 Brain Melting Works Of 3 D Sidewalk Chalk Art
660x440 36 Unbelievable 3d Pavement Drawings That Will Make You Look Twice
660x440 36 Unbelievable 3d Pavement Drawings That Will Make You Look Twice
300x450 44 Amazing Julian Beever's 3d Pavement Drawings Bored Panda
300x450 44 Amazing Julian Beever's 3d Pavement Drawings Bored Panda
600x846 A Brief Pavement Art History
600x846 A Brief Pavement Art History
500x333 Book Review Pavement Chalk Artist The Three Dimensional Drawings
500x333 Book Review Pavement Chalk Artist The Three Dimensional Drawings
960x695 Breathtaking 3d Sidewalk Art To Be Enjoyed By All
960x695 Breathtaking 3d Sidewalk Art To Be Enjoyed By All
1280x720 Coolest 3d Sidewalk Art
1280x720 Coolest 3d Sidewalk Art
1300x953 Chalk Outline Man Figure Body Silhouette Drawing Fallen Injury
1300x953 Chalk Outline Man Figure Body Silhouette Drawing Fallen Injury
964x715 Cyclists Confused By Huge Hole In Ground
964x715 Cyclists Confused By Huge Hole In Ground
3734x4750 Joe Hill Art
3734x4750 Joe Hill Art
660x440 Julian Beever Is Back
660x440 Julian Beever Is Back
450x600 Sidewalk Chalk Drawings 3d Pavement Art And Anamorphic Street
450x600 Sidewalk Chalk Drawings 3d Pavement Art And Anamorphic Street
266x400 Stader Amp Muller Chalk Art
266x400 Stader Amp Muller Chalk Art
1300x957 Street Artist Commences Pavement Drawing With A Sunrisesunset Sky
1300x957 Street Artist Commences Pavement Drawing With A Sunrisesunset Sky
1296x972 The Anamorphosis Of Julian Beever David Airey
1296x972 The Anamorphosis Of Julian Beever David Airey
Line drawing pics
498x435 Paving Detail
498x435 Paving Detail
400x365 Artistic Paving
400x365 Artistic Paving
600x600 Paving Tile 30x30 Cm
600x600 Paving Tile 30x30 Cm
1080x760 Motorcycle Parking Free Dwg File, Autocad Drawings Download
1080x760 Motorcycle Parking Free Dwg File, Autocad Drawings Download
800x533 Nice 10 Hi Def Cracks Brushes. Various Kinds Of Cracks Cracked
800x533 Nice 10 Hi Def Cracks Brushes. Various Kinds Of Cracks Cracked
264x368 Pavement Vector Free Download Free Vector Download (23 Free Vector
264x368 Pavement Vector Free Download Free Vector Download (23 Free Vector
736x945 121 Best Martha Schwartz Images On Landscape
736x945 121 Best Martha Schwartz Images On Landscape
640x853 181 Best Landscape Paving Images On Pavement, Public
640x853 181 Best Landscape Paving Images On Pavement, Public
736x745 96 Best Decorative Drawing Images On Arabesque
736x745 96 Best Decorative Drawing Images On Arabesque
1200x1200 A Kid With A Crayon Milled Pavement Records
1200x1200 A Kid With A Crayon Milled Pavement Records
1024x768 Art Tutorial 5 Ways To Add Some Life To Your Drawings
1024x768 Art Tutorial 5 Ways To Add Some Life To Your Drawings
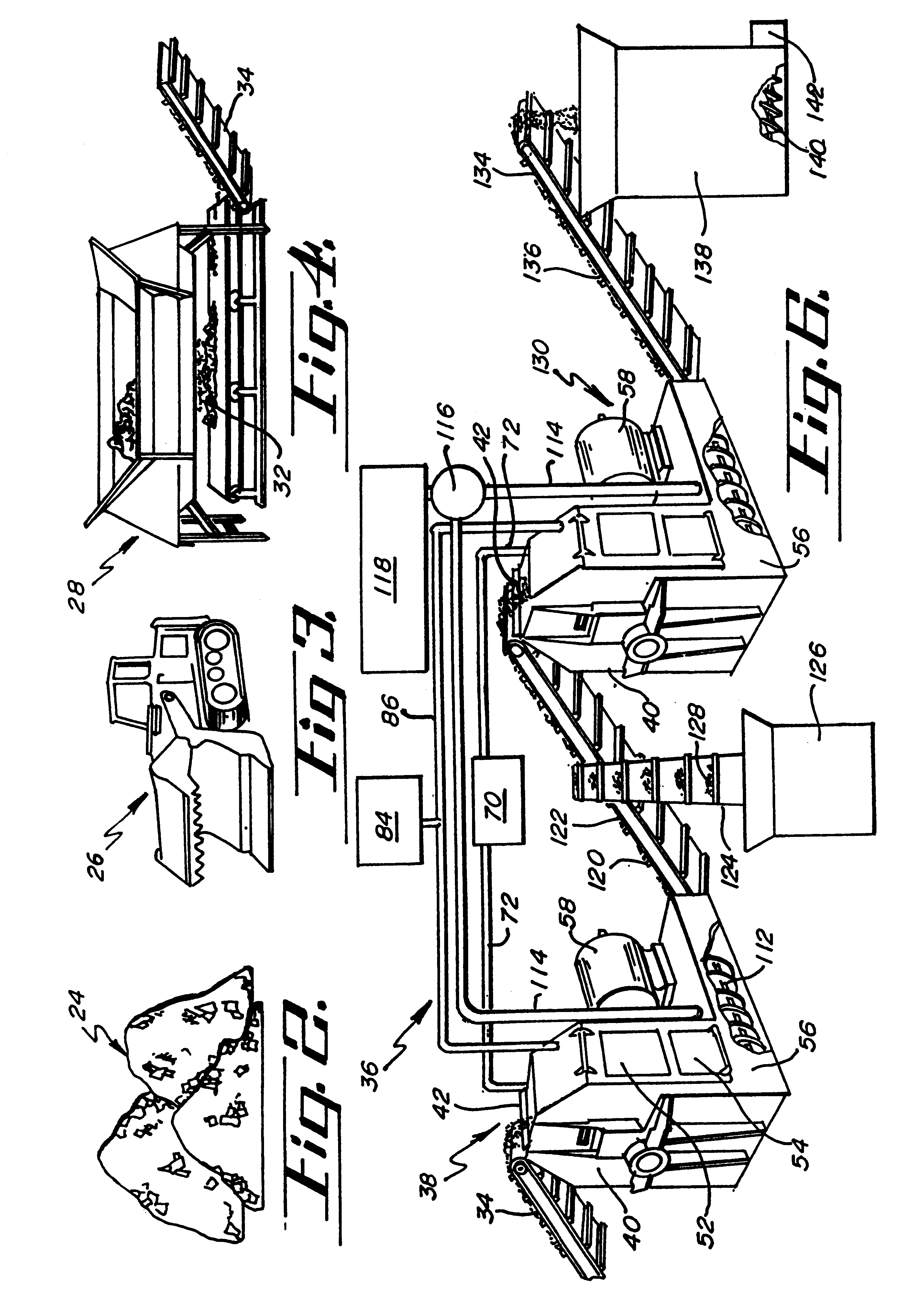
2791x4065 Brevet Us6186700
2791x4065 Brevet Us6186700
1200x1552 Chapter Four
1200x1552 Chapter Four
1722x2400 Clipart
1722x2400 Clipart
400x537 Detailed Grid Map Of The Pavement Fracture Zone
400x537 Detailed Grid Map Of The Pavement Fracture Zone
720x560 Detailed Grid Map Of The Pavement Fracture Zone
720x560 Detailed Grid Map Of The Pavement Fracture Zone
400x392 Dr Tony Shaw Sally, Nottingham Newspaper Seller And Pavement
400x392 Dr Tony Shaw Sally, Nottingham Newspaper Seller And Pavement
1131x1600 Drawing For Games 2
1131x1600 Drawing For Games 2
788x1024 Drawings And Sketches Art Of Buddy Mccue
788x1024 Drawings And Sketches Art Of Buddy Mccue
850x656 Figur E 2 Factors, And Interactions, Which Can Affect Pavement
850x656 Figur E 2 Factors, And Interactions, Which Can Affect Pavement
918x1188 Figure 16.flexible Pavement Design Curves, Army Class Iii Airfield
918x1188 Figure 16.flexible Pavement Design Curves, Army Class Iii Airfield
640x556 From The Drawing Board Concept Design Amp Sketches For A Garden
640x556 From The Drawing Board Concept Design Amp Sketches For A Garden
600x836 Geoffrey Fletcher's Pavement Pounders Spitalfields Life
600x836 Geoffrey Fletcher's Pavement Pounders Spitalfields Life
1300x1300 Hand Drawn Paving Stones And Blocks. Detailed Landscape Design
1300x1300 Hand Drawn Paving Stones And Blocks. Detailed Landscape Design
320x319 In Search Of The Wild Art
320x319 In Search Of The Wild Art
1000x922 Inventory Of Roman London Structures Within The Walls British
1000x922 Inventory Of Roman London Structures Within The Walls British
2200x1700 Jessica Bird Jessica's Drawing Showsn Original Character In
2200x1700 Jessica Bird Jessica's Drawing Showsn Original Character In
400x528 John Glenn Boulevard Amp Kirkville Road Pavement Resurfacing Project
400x528 John Glenn Boulevard Amp Kirkville Road Pavement Resurfacing Project
550x540 Lion In Pavement Vintage Engraving
550x540 Lion In Pavement Vintage Engraving
1024x1024 Medieval Tiles Pavement Ornament Ornament 3 Celtic, Byzantine
1024x1024 Medieval Tiles Pavement Ornament Ornament 3 Celtic, Byzantine
1100x854 Patent Us20130019215 Systems And Methods For Optimizing Boolean
1100x854 Patent Us20130019215 Systems And Methods For Optimizing Boolean
907x699 Pavement Central Park Greg Betza Illustration
907x699 Pavement Central Park Greg Betza Illustration
600x801 Pavement Pounders Spitalfields Life The East End Of London
600x801 Pavement Pounders Spitalfields Life The East End Of London
600x787 Pavement Pounders Spitalfields Life
600x787 Pavement Pounders Spitalfields Life
426x594 Pavement Vector Free Vector Download (23 Free Vector)
426x594 Pavement Vector Free Vector Download (23 Free Vector)
720x960 Paving Project To Begin On Signal Mountain
720x960 Paving Project To Begin On Signal Mountain
640x427 Powering A Smart City Eampt Magazine
640x427 Powering A Smart City Eampt Magazine
1200x1200 Range Life (Pavement Cover) Art Is Hard Records
1200x1200 Range Life (Pavement Cover) Art Is Hard Records
1190x1190 Sit 6e
1190x1190 Sit 6e
489x377 Short Term Monitoring Of Forest Road Pavement Degradation Using
489x377 Short Term Monitoring Of Forest Road Pavement Degradation Using
2926x2320 Society Of Architectural Illustration Allan T Adams's Replies
2926x2320 Society Of Architectural Illustration Allan T Adams's Replies
236x290 The Golden Fleece And Herbert House, Pavement, York Pavement
236x290 The Golden Fleece And Herbert House, Pavement, York Pavement
768x1024 The World's Best Photos Of Sidewalk And Spill
768x1024 The World's Best Photos Of Sidewalk And Spill
636x998 The Role Of Deformation Bands, Stylolites And Sheared Stylolites
636x998 The Role Of Deformation Bands, Stylolites And Sheared Stylolites
1057x1091 On Street Getting Around Minneapolis Page 2
1057x1091 On Street Getting Around Minneapolis Page 2
986x1480 Sarah Abercrombie Pavements
986x1480 Sarah Abercrombie Pavements
3594x2396 Sarah Jones Pavements
3594x2396 Sarah Jones Pavements

Tags: pavement

All rights to the published drawing images, silhouettes, cliparts, pictures and other materials on GetDrawings.com belong to their respective owners (authors), and the Website Administration does not bear responsibility for their use. All the materials are for personal use only. If you find any inappropriate content or any content that infringes your rights, and you do not want your material to be shown on this website, please contact the administration and we will immediately remove that material protected by copyright.

shutterstock thanksgiving day

Step by Step Tutorials

Drawing Hacks