Database Drawing

ADVERTISEMENT

Full color drawing pics
353x281 The Schema Module's Got Your Back(End)
353x281 The Schema Module's Got Your Back(End)
360x326 Diagram Examples Drawn Using Creately Creately
360x326 Diagram Examples Drawn Using Creately Creately
2325x1467 Drawing Database Tables In Tikz
2325x1467 Drawing Database Tables In Tikz
1306x691 Create Database Designs Online For Easy Visualisation
1306x691 Create Database Designs Online For Easy Visualisation
828x620 Entity Relationship Diagram
828x620 Entity Relationship Diagram
970x546 Data Model Diagram Tool Diagram Tool Drawing Schema Table Model
970x546 Data Model Diagram Tool Diagram Tool Drawing Schema Table Model
778x675 Database Diagram Component, Database Diagram Control, Uml Diagram
778x675 Database Diagram Component, Database Diagram Control, Uml Diagram
500x376 Database Diagram Software, Free Examples Download
500x376 Database Diagram Software, Free Examples Download
870x667 Drawing E R Diagrams With Crow's Foot Notation Using Microsoft
870x667 Drawing E R Diagrams With Crow's Foot Notation Using Microsoft
1440x823 Er Diagram Programs For Mac Professional Erd Drawing
1440x823 Er Diagram Programs For Mac Professional Erd Drawing
2558x1410 Er Diagram Tool For Os X Professional Erd Drawing
2558x1410 Er Diagram Tool For Os X Professional Erd Drawing
601x431 Entity Relationship Diagram
601x431 Entity Relationship Diagram
372x227 How To Draw A Database Model Diagram
372x227 How To Draw A Database Model Diagram
395x243 Mysql
395x243 Mysql
477x474 Sql Server
477x474 Sql Server
Line drawing pics
1135x1141 The Operational Data Warehouse For Today And Tomorrow
1135x1141 The Operational Data Warehouse For Today And Tomorrow
720x990 Entity Relationship Diagram For The Jsoc Commanding Database.
720x990 Entity Relationship Diagram For The Jsoc Commanding Database.
800x800 Hand Draw Business Doodles Database Icons And Words Set On White
800x800 Hand Draw Business Doodles Database Icons And Words Set On White
840x734 Theatre Database Theatre Architecture
840x734 Theatre Database Theatre Architecture
850x1135 5. Flow Diagram Of Data Stream For Treeline Data Sets
850x1135 5. Flow Diagram Of Data Stream For Treeline Data Sets
850x924 An Entity Relationship Diagram Showing The Schema For The Protein
850x924 An Entity Relationship Diagram Showing The Schema For The Protein
970x1125 Best Wiring Diagram For Electric Silvertone Guitar Harmony Guitars
970x1125 Best Wiring Diagram For Electric Silvertone Guitar Harmony Guitars
1500x1500 Broncos Logo Drawing Denver Broncos Logo Denver Broncos Alternate
1500x1500 Broncos Logo Drawing Denver Broncos Logo Denver Broncos Alternate
534x315 Cs44 Lab 6
534x315 Cs44 Lab 6
260x425 Database Clip Art Vector Clip Art Free Vector Free Download
260x425 Database Clip Art Vector Clip Art Free Vector Free Download
959x719 Database Systems Course, Solutions For Exercise No. 3
959x719 Database Systems Course, Solutions For Exercise No. 3
450x470 Design Concepts For Data Architecture, Big Technology, Database
450x470 Design Concepts For Data Architecture, Big Technology, Database
577x619 E R Diagrams Amp Database Of Mobile Shop Mca Project Athik
577x619 E R Diagrams Amp Database Of Mobile Shop Mca Project Athik
1750x2367 Entity Relationship Model Home Page
1750x2367 Entity Relationship Model Home Page
1199x1271 Entity Relationship Modeling
1199x1271 Entity Relationship Modeling
1024x1410 Er Diagram Basics Database Design Tool Free
1024x1410 Er Diagram Basics Database Design Tool Free
480x692 Flow Diagram Showing Flow And Processing Of Laboratory Data In
480x692 Flow Diagram Showing Flow And Processing Of Laboratory Data In
335x347 Liferay Database Architecture
335x347 Liferay Database Architecture
1677x2228 Notations Of Er Diagram How To Make New Year Card Fishbone Wikipedia
1677x2228 Notations Of Er Diagram How To Make New Year Card Fishbone Wikipedia
541x406 Object Role Model (Orm) Diagrams An Agile Introduction
541x406 Object Role Model (Orm) Diagrams An Agile Introduction
338x297 Page 3
338x297 Page 3
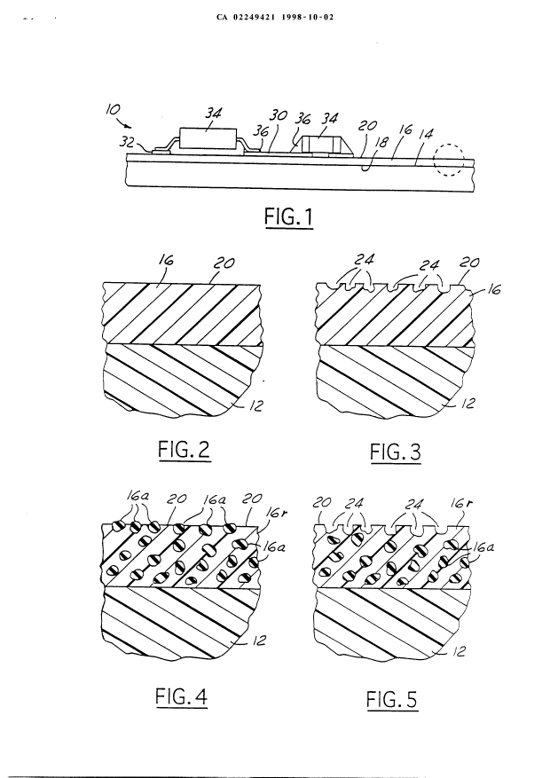
620x877 Patent
620x877 Patent
580x877 Patent
580x877 Patent
997x944 Sanjay Gharde
997x944 Sanjay Gharde
688x801 Solved Convert The Following E R Diagram To Relational Da
688x801 Solved Convert The Following E R Diagram To Relational Da
597x500 Solved The Figure Below Is An Er Diagram For A Database T
597x500 Solved The Figure Below Is An Er Diagram For A Database T
638x902 Student Database Management System
638x902 Student Database Management System
8650x6084 Symbol Of Er Diagram San Topology
8650x6084 Symbol Of Er Diagram San Topology
754x995 Uml Diagram Of The Database Schema. B) Libregeosocialapp This Is
754x995 Uml Diagram Of The Database Schema. B) Libregeosocialapp This Is
400x427 Venn Diagram Showing Overlap In Predictions Of Flavor Predictors
400x427 Venn Diagram Showing Overlap In Predictions Of Flavor Predictors
638x826 Data Flow Diagram
638x826 Data Flow Diagram
3000x2999 Database
3000x2999 Database
1218x1012 Diagram Database Er Diagram For Courier Management System Drawing
1218x1012 Diagram Database Er Diagram For Courier Management System Drawing
2986x1527 Diamond Line
2986x1527 Diamond Line
600x842 Geometric Geometrique Cat Chat Art Cat, Origami
600x842 Geometric Geometrique Cat Chat Art Cat, Origami
1384x1050 Mysql
1384x1050 Mysql
2178x2720 Relational Theory
2178x2720 Relational Theory
682x797 Showing Database Design Phases
682x797 Showing Database Design Phases

Tags: database

All rights to the published drawing images, silhouettes, cliparts, pictures and other materials on GetDrawings.com belong to their respective owners (authors), and the Website Administration does not bear responsibility for their use. All the materials are for personal use only. If you find any inappropriate content or any content that infringes your rights, and you do not want your material to be shown on this website, please contact the administration and we will immediately remove that material protected by copyright.

shutterstock thanksgiving day

Step by Step Tutorials

Drawing Hacks