Film Roll Drawing

ADVERTISEMENT

Full color drawing pics
401x480 Vinyl Wall Decal Sticker Movie Film Roll
401x480 Vinyl Wall Decal Sticker Movie Film Roll
1024x1024 Cinema Film Roll And Red Carpet Illustration Stock Vector
1024x1024 Cinema Film Roll And Red Carpet Illustration Stock Vector
800x583 Roll, Vector, Film Stock Vector Colourbox
800x583 Roll, Vector, Film Stock Vector Colourbox
675x900 1952 Roll Film Camera Patent Drawing
675x900 1952 Roll Film Camera Patent Drawing
736x985 34 Best Logo Images On Advertising, Badges And Graphics
736x985 34 Best Logo Images On Advertising, Badges And Graphics
600x600 Draw A Roll Of Camera Film In Photoshop
600x600 Draw A Roll Of Camera Film In Photoshop
1300x666 Engraving Depicting A Kodak Box Which Used Eastman Negative Film
1300x666 Engraving Depicting A Kodak Box Which Used Eastman Negative Film
1300x1300 Film Roll Vector Image
1300x1300 Film Roll Vector Image
290x290 Film Roll Illustration, With Some Tiny Landscapes. Drawing Ideas
290x290 Film Roll Illustration, With Some Tiny Landscapes. Drawing Ideas
1024x768 Rwraps Sticker Bomb Vinyl Wrap Sheet Film Roll For Carpet Dash
1024x768 Rwraps Sticker Bomb Vinyl Wrap Sheet Film Roll For Carpet Dash
570x452 Vintage 35mm Camera Film Roll Clipart Lineart Illustration Instant
570x452 Vintage 35mm Camera Film Roll Clipart Lineart Illustration Instant
570x452 Vintage Camera Roll Film Line Art Illustration Hand Drawing
570x452 Vintage Camera Roll Film Line Art Illustration Hand Drawing
900x600 Why I Developed A Roll Of Film I Found On The Curb The Walrus
900x600 Why I Developed A Roll Of Film I Found On The Curb The Walrus
1300x1066 Color Crayon Stripe Image Cartoon Film Roll Reel Stock Vector Art
1300x1066 Color Crayon Stripe Image Cartoon Film Roll Reel Stock Vector Art
1024x1024 Photo Film In Cartridge, Camera Film Roll Stock Vector
1024x1024 Photo Film In Cartridge, Camera Film Roll Stock Vector
Line drawing pics
1021x326 Black White Roll Of Old Film Stock Photo Tonlammerts
1021x326 Black White Roll Of Old Film Stock Photo Tonlammerts
260x603 Film Png, Vectors, Psd, And Icons For Free Download Pngtree Page 2
260x603 Film Png, Vectors, Psd, And Icons For Free Download Pngtree Page 2
693x693 Film Roll Clipart Png
693x693 Film Roll Clipart Png
450x338 10,981 Film Roll Stock Vector Illustration And Royalty Free Film
450x338 10,981 Film Roll Stock Vector Illustration And Royalty Free Film
512x512 Services
512x512 Services
512x512 Cinema, Film, Film Roll, Movie, Roll Icon Icon Search Engine
512x512 Cinema, Film, Film Roll, Movie, Roll Icon Icon Search Engine
975x1339 Drawing I Did Inspired By Pink Floyd Lyrics Music
975x1339 Drawing I Did Inspired By Pink Floyd Lyrics Music
401x480 Vinyl Wall Decal Sticker Movie Film Roll
401x480 Vinyl Wall Decal Sticker Movie Film Roll
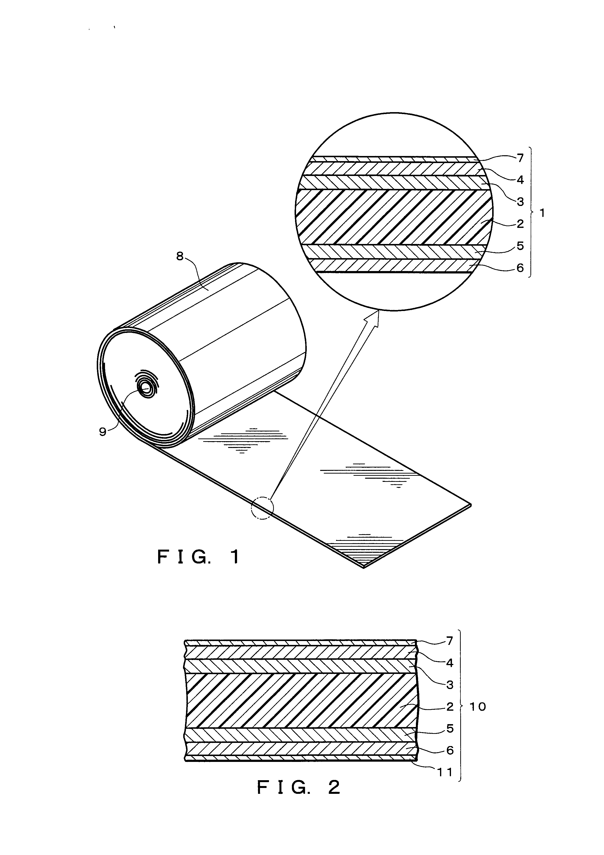
728x546 02.multi Layer Composite Films
728x546 02.multi Layer Composite Films
402x340 Film, Reel
402x340 Film, Reel
824x1071 Filmroll Shayan0askari's Weblog
824x1071 Filmroll Shayan0askari's Weblog
240x240 Search Photos Camera Film
240x240 Search Photos Camera Film
400x358 Vfa
400x358 Vfa
930x1024 Vector Film Roll Stock Vector Teacept
930x1024 Vector Film Roll Stock Vector Teacept
413x470 Reel Clipart Black And White
413x470 Reel Clipart Black And White
1024x1024 8 Images Of Movie Reel Coloring Page
1024x1024 8 Images Of Movie Reel Coloring Page
740x647 A Beginner's Guide To Loading Film Cameras (Amp Why It's Still
740x647 A Beginner's Guide To Loading Film Cameras (Amp Why It's Still
800x661 Cameraman Vintage Movie Film Camera Shooting Stock Vector
800x661 Cameraman Vintage Movie Film Camera Shooting Stock Vector
1300x1111 Collection Of Film Strip Roll And Retro Camera. Hand Drawn Vector
1300x1111 Collection Of Film Strip Roll And Retro Camera. Hand Drawn Vector
670x503 Drawn Snake Line Drawing
670x503 Drawn Snake Line Drawing
577x570 Ffs Bag Blown Filmffs Bagffs Packageldpe Bagpe Form Fill Seal
577x570 Ffs Bag Blown Filmffs Bagffs Packageldpe Bagpe Form Fill Seal
298x252 Film Clip Art
298x252 Film Clip Art
400x461 Film Crews Cartoons And Comics
400x461 Film Crews Cartoons And Comics
1004x1390 Film Roll Old Background Vector Stock Photos Amp Film Roll Old
1004x1390 Film Roll Old Background Vector Stock Photos Amp Film Roll Old
980x980 Film Roll Svg Png Icon Free Download ( 495457)
980x980 Film Roll Svg Png Icon Free Download ( 495457)
600x552 Film Roll Stock Vectors, Illustrations And Cliparts Stockfresh
600x552 Film Roll Stock Vectors, Illustrations And Cliparts Stockfresh
800x800 Illustration Of Vector Film Reel On White Background Stock
800x800 Illustration Of Vector Film Reel On White Background Stock
340x272 Image 2511568 Film From Crestock Stock Photos
340x272 Image 2511568 Film From Crestock Stock Photos
852x480 List Of Indo Pak Movies Aaghaz E Dosti
852x480 List Of Indo Pak Movies Aaghaz E Dosti
2479x3508 Patent Us20130177752
2479x3508 Patent Us20130177752
1521x1341 Pin By Binx On Galactibun Broadway
1521x1341 Pin By Binx On Galactibun Broadway
374x235 Rf Window Film Signal Protect
374x235 Rf Window Film Signal Protect
640x506 Roll Film Camera Black And White Stock Photos Amp Images
640x506 Roll Film Camera Black And White Stock Photos Amp Images
254x230 Sheet Film Developing Tanks
254x230 Sheet Film Developing Tanks
550x550 Sketch Draw Cute Compass
550x550 Sketch Draw Cute Compass
2000x2117 The Girl On The Swing Animatetim
2000x2117 The Girl On The Swing Animatetim
640x620 Webster Griffin Ltd
640x620 Webster Griffin Ltd
1523x1971 Film Skip And Setter's Cinema Blogishkeit
1523x1971 Film Skip And Setter's Cinema Blogishkeit

Tags: film, roll

All rights to the published drawing images, silhouettes, cliparts, pictures and other materials on GetDrawings.com belong to their respective owners (authors), and the Website Administration does not bear responsibility for their use. All the materials are for personal use only. If you find any inappropriate content or any content that infringes your rights, and you do not want your material to be shown on this website, please contact the administration and we will immediately remove that material protected by copyright.

shutterstock thanksgiving day

Step by Step Tutorials

Drawing Hacks