Music Box Drawing

ADVERTISEMENT

Full color drawing pics
497x406 Antique Music Box
497x406 Antique Music Box
400x300 Music Box By Turgay Mutlay
400x300 Music Box By Turgay Mutlay
819x975 Drawing Music Box By Ayyinisvip
819x975 Drawing Music Box By Ayyinisvip
1600x1700 Coloring Book, Ballerina Music Box Stock Vector Ksenya Savva
1600x1700 Coloring Book, Ballerina Music Box Stock Vector Ksenya Savva
758x1000 Doll A Music Box By Mithdraug
758x1000 Doll A Music Box By Mithdraug
768x1024 Draw Something Music Box By Louied0g
768x1024 Draw Something Music Box By Louied0g
449x640 Harry Potter Music Box By Blueninjacupcake
449x640 Harry Potter Music Box By Blueninjacupcake
600x496 Mario The Music Box Why Mario By Laogei
600x496 Mario The Music Box Why Mario By Laogei
380x702 Music Box Ballerina. By Charquill
380x702 Music Box Ballerina. By Charquill
500x750 Musicbox Drawings
500x750 Musicbox Drawings
640x640 Quick Sketch Music Box Ballerina
640x640 Quick Sketch Music Box Ballerina
900x831 Anastasia's Music Box By Triplesmiley
900x831 Anastasia's Music Box By Triplesmiley
900x672 Elfen Lied Lilium Music Box By Black Rock Sh00ter
900x672 Elfen Lied Lilium Music Box By Black Rock Sh00ter
1300x1381 Illustration Drawing Of Music Box Stock Photo 18634463
1300x1381 Illustration Drawing Of Music Box Stock Photo 18634463
Line drawing pics
1200x1200 Music Box 3d Asset Cgtrader
1200x1200 Music Box 3d Asset Cgtrader
1554x1553 Company T H E
1554x1553 Company T H E
3029x4563 Music Box T Shirt Yann Crozet Art Director Illustrator
3029x4563 Music Box T Shirt Yann Crozet Art Director Illustrator
2705x3182 Music Box Exploded View Musical Art Exploded View
2705x3182 Music Box Exploded View Musical Art Exploded View
500x500 22 Best Fnaf Images On Freddy S, Creepy Pasta
500x500 22 Best Fnaf Images On Freddy S, Creepy Pasta
431x640 29 Best Music Box. Images On Musicals, Activities
431x640 29 Best Music Box. Images On Musicals, Activities
518x713 A Girl Playing A Music Box Tinkerbell Coloring Pages
518x713 A Girl Playing A Music Box Tinkerbell Coloring Pages
807x991 Adventure Is Out There By Music Box Love
807x991 Adventure Is Out There By Music Box Love
303x480 Brian
303x480 Brian
922x1291 Ballerina Music Box Coloring Page Free Printable Coloring Pages
922x1291 Ballerina Music Box Coloring Page Free Printable Coloring Pages
2484x3507 Breena Garden Music Box Melancholy Moppet
2484x3507 Breena Garden Music Box Melancholy Moppet
1080x1024 Clipart Of A Vintage Black And White Sketched Man With A Music Box
1080x1024 Clipart Of A Vintage Black And White Sketched Man With A Music Box
816x1056 Color Me Pixie April 2015 Contest
816x1056 Color Me Pixie April 2015 Contest
1600x1700 Coloring Book, Ballerina Music Box Stock Vector Ksenya Savva
1600x1700 Coloring Book, Ballerina Music Box Stock Vector Ksenya Savva
1362x1600 Created Ych Number 8 (Music Box Pony A)
1362x1600 Created Ych Number 8 (Music Box Pony A)
792x1009 Day024
792x1009 Day024
600x803 Jack In The Box Music Coloring Page Coloring Sky
600x803 Jack In The Box Music Coloring Page Coloring Sky
400x300 Lindsay Cibos' Art Blog Ballerina
400x300 Lindsay Cibos' Art Blog Ballerina
500x687 Luniere Music Box Character Designs
500x687 Luniere Music Box Character Designs
750x600 Mario The Music Box Arc By Piccolapeste77
750x600 Mario The Music Box Arc By Piccolapeste77
762x1048 Monkey Music Box By Daanii
762x1048 Monkey Music Box By Daanii
1017x786 Music Box By Inudragon13
1017x786 Music Box By Inudragon13
1607x1659 Music Box Study Music Project
1607x1659 Music Box Study Music Project
663x611 Music Box Pegasus Is Back By Musicboxpegasus
663x611 Music Box Pegasus Is Back By Musicboxpegasus
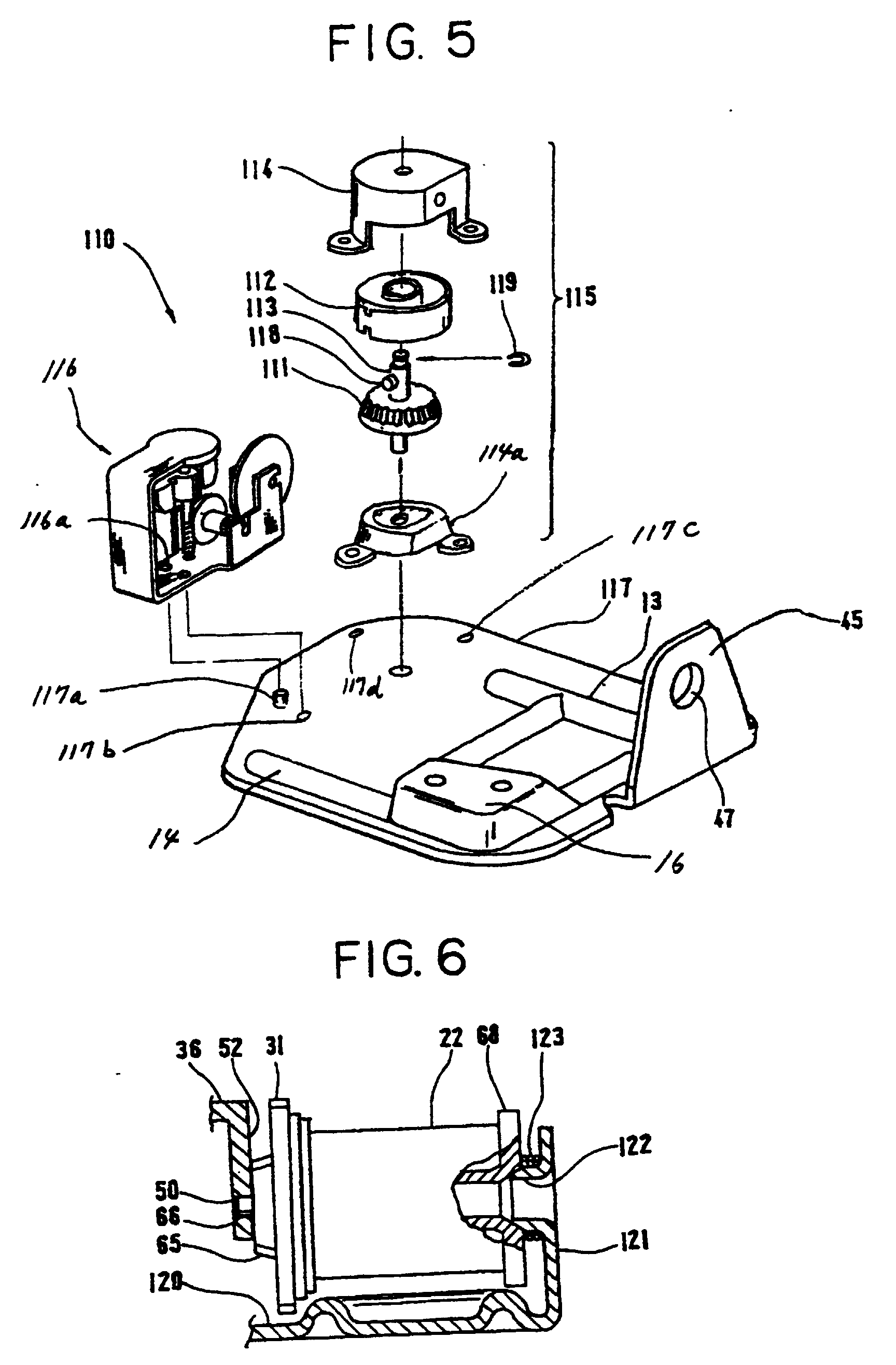
1728x2632 Patent Ep1081678a1
1728x2632 Patent Ep1081678a1
453x600 The Music Box Folk And Acoustic Night Launch! Paper Dress
453x600 The Music Box Folk And Acoustic Night Launch! Paper Dress
518x713 Tinkerbell Dancing With A Ballerina Of A Music Box Coloring Pages
518x713 Tinkerbell Dancing With A Ballerina Of A Music Box Coloring Pages
518x713 Tinkerbell Giving The Musical Box A Magical Powder Coloring Pages
518x713 Tinkerbell Giving The Musical Box A Magical Powder Coloring Pages
739x1082 Up' Sketch By Music Box Love
739x1082 Up' Sketch By Music Box Love
450x470 Vintage Gramophone Sketch. Classic Vector Amp Photo Bigstock
450x470 Vintage Gramophone Sketch. Classic Vector Amp Photo Bigstock
818x1059 Coloring Pages For Kids Ballerina Music Box Leap Ballerina
818x1059 Coloring Pages For Kids Ballerina Music Box Leap Ballerina
668x936 Coloring Pages Leap Ballerina Cartoons Ballerina Music Box
668x936 Coloring Pages Leap Ballerina Cartoons Ballerina Music Box
932x665 Leap Ballerina Cartoons Ballerina Music Box Coloring Pages
932x665 Leap Ballerina Cartoons Ballerina Music Box Coloring Pages
254x300 Music Box Vector Clip Art
254x300 Music Box Vector Clip Art
600x600 Music Box Carousel
600x600 Music Box Carousel
1024x600 Music Boxes
1024x600 Music Boxes

Tags: music, box

All rights to the published drawing images, silhouettes, cliparts, pictures and other materials on GetDrawings.com belong to their respective owners (authors), and the Website Administration does not bear responsibility for their use. All the materials are for personal use only. If you find any inappropriate content or any content that infringes your rights, and you do not want your material to be shown on this website, please contact the administration and we will immediately remove that material protected by copyright.

shutterstock thanksgiving day

Step by Step Tutorials

Drawing Hacks