Nike Air Mag Drawing

ADVERTISEMENT

Full color drawing pics
900x600 Focus Artist Kick Draw By Rhyen Ellis Sole Collector
900x600 Focus Artist Kick Draw By Rhyen Ellis Sole Collector
500x382 Nike Air Mag Drawing Uploaded By
500x382 Nike Air Mag Drawing Uploaded By
550x442 Nike Air Mag Poster Drawing. Framed Prints By Harrer Redbubble
550x442 Nike Air Mag Poster Drawing. Framed Prints By Harrer Redbubble
720x720 Air Mag By Daeo
720x720 Air Mag By Daeo
640x480 Nike Air Mag By Jovonmackins
640x480 Nike Air Mag By Jovonmackins
620x489 Image Result For Nike Dope Back To The Future
620x489 Image Result For Nike Dope Back To The Future
800x600 Nike Air Mag By Tim Eggert
800x600 Nike Air Mag By Tim Eggert
480x360 Nike Air Mag Speed Drawing
480x360 Nike Air Mag Speed Drawing
700x700 Nike Air Mag Canvas Print By Vincehegeds Society6
700x700 Nike Air Mag Canvas Print By Vincehegeds Society6
1024x1024 Nike Air Mag By Steven Piantoni Sneakertoons Amp Matchkicks (Uk
1024x1024 Nike Air Mag By Steven Piantoni Sneakertoons Amp Matchkicks (Uk
570x450 Nike Mag 2011
570x450 Nike Mag 2011
1022x781 Back To The Future Nike Air Mag Shoes By Chatoanimations
1022x781 Back To The Future Nike Air Mag Shoes By Chatoanimations
1280x720 Dsdrawings Nike Air Mag Time Lapse Drawing
1280x720 Dsdrawings Nike Air Mag Time Lapse Drawing
4128x2322 Drawing] The Nike Air Mag Sneakers
4128x2322 Drawing] The Nike Air Mag Sneakers
1440x1080 How To Draw Air Mags (Speed Art)
1440x1080 How To Draw Air Mags (Speed Art)
Line drawing pics
700x375 Jordan Coloring Pages
700x375 Jordan Coloring Pages
794x677 Coloring Pictures Of Nike Shoes Printable Coloring Pages Of Nike
794x677 Coloring Pictures Of Nike Shoes Printable Coloring Pages Of Nike
1200x1333 Nike Air Mag On Student Show
1200x1333 Nike Air Mag On Student Show
474x366 153 Best Sneakers Art Drawing Images On Slippers
474x366 153 Best Sneakers Art Drawing Images On Slippers
1600x946 Coloring Pages Of Kd Shoes Copy Coloring Pages Nike Shoes
1600x946 Coloring Pages Of Kd Shoes Copy Coloring Pages Nike Shoes
819x519 Go Nuts With These!
819x519 Go Nuts With These!
1024x768 Jordan Shoe Coloring Pages
1024x768 Jordan Shoe Coloring Pages
1000x722 Kicksart
1000x722 Kicksart
600x465 2016 Nike Air Mag On Scad Portfolios
600x465 2016 Nike Air Mag On Scad Portfolios
967x685 5th Dimension Forum ~ View Topic
967x685 5th Dimension Forum ~ View Topic
900x900 Air Jordan Coloring Pages
900x900 Air Jordan Coloring Pages
800x674 Coloring Pages Shoes Luxury Nike Air Mag Coloring Page Coloring
800x674 Coloring Pages Shoes Luxury Nike Air Mag Coloring Page Coloring
940x725 Jordan Coloring Pages Shoes Many Interesting Cliparts
940x725 Jordan Coloring Pages Shoes Many Interesting Cliparts
474x363 Nike Air Yeezy Ii
474x363 Nike Air Yeezy Ii
930x530 Sneaker Nostalgia Nike Air Shake Ndestrukt Chad Sandy
930x530 Sneaker Nostalgia Nike Air Shake Ndestrukt Chad Sandy
784x502 Sneaker Templates
784x502 Sneaker Templates
792x500 Undefeated X Air Jordan 8 Retro To Release In 2017
792x500 Undefeated X Air Jordan 8 Retro To Release In 2017
1000x773 Charming Coloring Pages Of Nike Shoes Photos
1000x773 Charming Coloring Pages Of Nike Shoes Photos
612x800 Coloring Page Shoes Coloring Page Shoes Free Coloring Pages Shoes
612x800 Coloring Page Shoes Coloring Page Shoes Free Coloring Pages Shoes
1690x1228 Coloring Pages Of Kd Shoes Best Of Clothes And Shoes Coloring
1690x1228 Coloring Pages Of Kd Shoes Best Of Clothes And Shoes Coloring
650x650 Coloring Pages Shoes Luxury Nike Air Mag Coloring Page Coloring
650x650 Coloring Pages Shoes Luxury Nike Air Mag Coloring Page Coloring
1000x700 Digital Drawing Of The Platinum White Huarache, Printed Onto
1000x700 Digital Drawing Of The Platinum White Huarache, Printed Onto
783x489 Drawn Sneakers Jordan Shoe
783x489 Drawn Sneakers Jordan Shoe
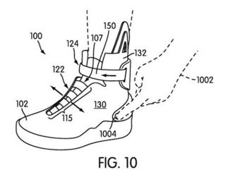
620x800 Fck Yea! Nike Patents Self Lacing Sneakers! Pixelated Geek
620x800 Fck Yea! Nike Patents Self Lacing Sneakers! Pixelated Geek
476x333 Jordan 14 Coloring Page Image Clipart Images
476x333 Jordan 14 Coloring Page Image Clipart Images
1600x1014 Jordan Coloring Page
1600x1014 Jordan Coloring Page
1000x750 Kicksart
1000x750 Kicksart
1000x591 Kicksart
1000x591 Kicksart
620x800 Nike Teases Legendary Marty Mcfly Sneakers With Epic 1985 Invite
620x800 Nike Teases Legendary Marty Mcfly Sneakers With Epic 1985 Invite
320x251 Nike's Got Back To The Future Ii Sneaker Patents
320x251 Nike's Got Back To The Future Ii Sneaker Patents
620x413 Nike Air Mag Marty Mcfly Patent News Hypebeast
620x413 Nike Air Mag Marty Mcfly Patent News Hypebeast
620x840 Nike Air Mag For 2015 Gidiblog Gidi Culture
620x840 Nike Air Mag For 2015 Gidiblog Gidi Culture
800x495 Nike Air Max Coloring Pages Jordan 5 Coloring Pages
800x495 Nike Air Max Coloring Pages Jordan 5 Coloring Pages
1043x1200 Nike Basketball 1992 2012 Air Max2 Cb (1994)
1043x1200 Nike Basketball 1992 2012 Air Max2 Cb (1994)
620x542 Nike Mag 2015 Release
620x542 Nike Mag 2015 Release
800x375 Nike Mag Power Lacing Patents Complex
800x375 Nike Mag Power Lacing Patents Complex
680x866 Nike Mag With Power Laces Confirmed For 2015 Release Complex
680x866 Nike Mag With Power Laces Confirmed For 2015 Release Complex
280x265 Nike Patenting The Power Laces From Back To The Future Ii Techcrunch
280x265 Nike Patenting The Power Laces From Back To The Future Ii Techcrunch
870x918 Nike Air Max Printable Coloring Pages
870x918 Nike Air Max Printable Coloring Pages
1280x1067 Nike Clipart Jordan Shoe
1280x1067 Nike Clipart Jordan Shoe
670x503 Power Laced Nike Mag Shoes From Back To The Future Ii Are Now Real
670x503 Power Laced Nike Mag Shoes From Back To The Future Ii Are Now Real
900x900 Shoes Coloring Pages Coloringsuite Com Best Of Jordan Shoe
900x900 Shoes Coloring Pages Coloringsuite Com Best Of Jordan Shoe
800x600 The Top 10 Best Blogs On Marty Mcfly Shoes
800x600 The Top 10 Best Blogs On Marty Mcfly Shoes
3196x1971 Air Jordan 7 Template Shoesonline
3196x1971 Air Jordan 7 Template Shoesonline
642x419 Fishfinger Marty Mcfly's Nike Going On Sale
642x419 Fishfinger Marty Mcfly's Nike Going On Sale
818x645 Tinker Hatfield Interview
818x645 Tinker Hatfield Interview

Tags: nike, air, mag

All rights to the published drawing images, silhouettes, cliparts, pictures and other materials on GetDrawings.com belong to their respective owners (authors), and the Website Administration does not bear responsibility for their use. All the materials are for personal use only. If you find any inappropriate content or any content that infringes your rights, and you do not want your material to be shown on this website, please contact the administration and we will immediately remove that material protected by copyright.

shutterstock thanksgiving day

Step by Step Tutorials

Drawing Hacks