Price Tag Drawing

ADVERTISEMENT

Full color drawing pics
1300x1300 Label, Badge, Price Tag Drawing Mandala Lace Ornament Royalty Free
1300x1300 Label, Badge, Price Tag Drawing Mandala Lace Ornament Royalty Free
450x470 Sale Label Price Tag Template Design. Vector Illustration. Vectors
450x470 Sale Label Price Tag Template Design. Vector Illustration. Vectors
187x194 Blank Price Tag Drawing
187x194 Blank Price Tag Drawing
1300x884 Christmas Gift Tag Black And White Stock Photos Amp Images
1300x884 Christmas Gift Tag Black And White Stock Photos Amp Images
599x599 Create Price Tag Photoshop Tutorials And Resources Psddude
599x599 Create Price Tag Photoshop Tutorials And Resources Psddude
300x180 How To Draw A Price Tag In Photoshop A Step By Step Guide
300x180 How To Draw A Price Tag In Photoshop A Step By Step Guide
600x400 Jessie J Price Tag A Signs Speedpaint Drawing By
600x400 Jessie J Price Tag A Signs Speedpaint Drawing By
450x470 Label, Badge, Price Tag With The Image Of Fashionable Eps
450x470 Label, Badge, Price Tag With The Image Of Fashionable Eps
450x470 Price Tag 15 Percent. Illustration Of A Price Tag With Stock
450x470 Price Tag 15 Percent. Illustration Of A Price Tag With Stock
500x667 Pricetag Drawings
500x667 Pricetag Drawings
450x470 Sale Fourty Percent Pricetag Red Vector Vector Clip Art
450x470 Sale Fourty Percent Pricetag Red Vector Vector Clip Art
450x470 Sale Label Price Tag Template Design. Vector Illustration. Vector
450x470 Sale Label Price Tag Template Design. Vector Illustration. Vector
Line drawing pics
570x738 Price Tags Printable Digital File Filing, Digital And Etsy
570x738 Price Tags Printable Digital File Filing, Digital And Etsy
512x512 Price Tag Icon
512x512 Price Tag Icon
732x980 Price Tag Svg Png Icon Free Download ( 459707)
732x980 Price Tag Svg Png Icon Free Download ( 459707)
980x1024 House With Sale Price Label. Stock Vector Chuhail
980x1024 House With Sale Price Label. Stock Vector Chuhail
1023x619 Price Tag Number 0.99 Stock Vector Hittoon
1023x619 Price Tag Number 0.99 Stock Vector Hittoon
980x834 Price Tag Svg Png Icon Free Download ( 568403)
980x834 Price Tag Svg Png Icon Free Download ( 568403)
400x290 4. End The Practice Of Awarding Business On The Basis Of Price Tag
400x290 4. End The Practice Of Awarding Business On The Basis Of Price Tag
1024x1024 Babies Are Expensive Sketch Stock Vector Lhfgraphics
1024x1024 Babies Are Expensive Sketch Stock Vector Lhfgraphics
1080x1024 Clipart Of A Black And White Cartoon Man With Sticker Shock
1080x1024 Clipart Of A Black And White Cartoon Man With Sticker Shock
1000x630 Decors For Dwarf Lion Recolors Lioden
1000x630 Decors For Dwarf Lion Recolors Lioden
1300x1300 Fruit Price Linear Icon. Thin Line Illustration. Apple With Dollar
1300x1300 Fruit Price Linear Icon. Thin Line Illustration. Apple With Dollar
550x550 Gift Or Price Tag Sad Emoji Icon Image
550x550 Gift Or Price Tag Sad Emoji Icon Image
1300x1300 Icon Of Price Tag With Dollar Sign Royalty Free Cliparts, Vectors
1300x1300 Icon Of Price Tag With Dollar Sign Royalty Free Cliparts, Vectors
614x1023 Isolated Vector Illustration Sketch Of A String Tied Sports
614x1023 Isolated Vector Illustration Sketch Of A String Tied Sports
1300x1300 Juniper Berries, Sketch Style Vector Illustration Isolated
1300x1300 Juniper Berries, Sketch Style Vector Illustration Isolated
450x450 Market Clothes Price Tag New Wear Shirt Vector Illustration
450x450 Market Clothes Price Tag New Wear Shirt Vector Illustration
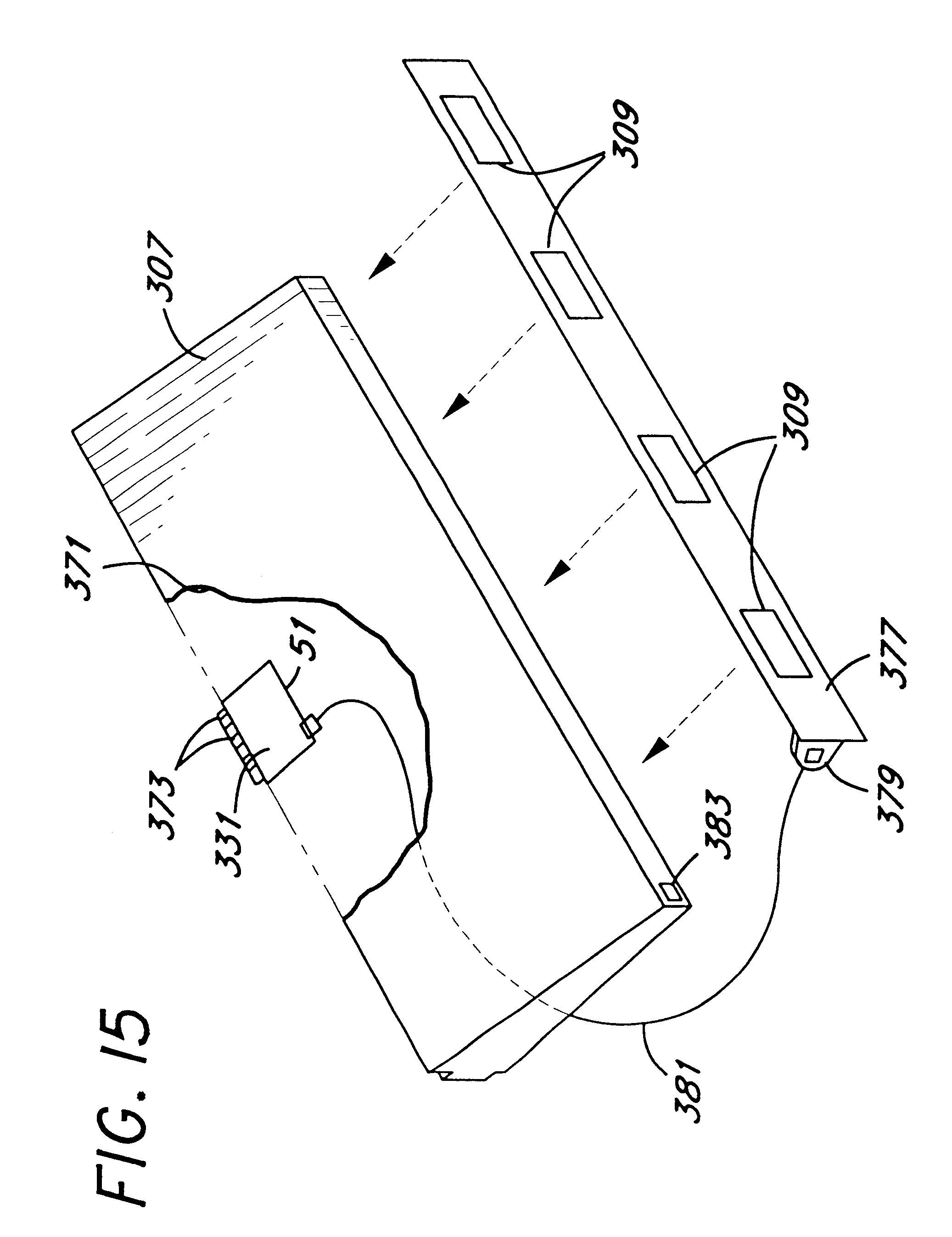
2074x2694 Patent Us6570492
2074x2694 Patent Us6570492
900x938 Perks Of Higher Education Are Worth The Price Tag Daily Trojan
900x938 Perks Of Higher Education Are Worth The Price Tag Daily Trojan
570x563 Printed Fabric Label, Price Tag, Hang Tag Custom Clothing Label
570x563 Printed Fabric Label, Price Tag, Hang Tag Custom Clothing Label
300x300 Royalty Free 6701 Royalty Free Clip Art Black And White Price Tag
300x300 Royalty Free 6701 Royalty Free Clip Art Black And White Price Tag
1024x1024 Sale Signs And Price Discount Tags, Shopping Associated Symbols
1024x1024 Sale Signs And Price Discount Tags, Shopping Associated Symbols
720x705 These Days, Everything Has A Bar Code And A Price Tag Because
720x705 These Days, Everything Has A Bar Code And A Price Tag Because
300x392 Christmas Round Price Tag With Hanger Sale Promotion And Gift Card
300x392 Christmas Round Price Tag With Hanger Sale Promotion And Gift Card
300x454 Gift Or Price Tag Angry Emoji Icon Image Stock Vector Art
300x454 Gift Or Price Tag Angry Emoji Icon Image Stock Vector Art
300x441 Gift Or Price Tag Happy Emoji Icon Image Stock Vector Art
300x441 Gift Or Price Tag Happy Emoji Icon Image Stock Vector Art
300x347 Gift Or Price Tag Happy Sunglasses Emoji Icon Image Stock Vector
300x347 Gift Or Price Tag Happy Sunglasses Emoji Icon Image Stock Vector
300x445 Gift Or Price Tag Sad Emoji Icon Image Stock Vector Art
300x445 Gift Or Price Tag Sad Emoji Icon Image Stock Vector Art
300x444 Gift Or Price Tag Sad Emoji Icon Image Vector Illustration Design
300x444 Gift Or Price Tag Sad Emoji Icon Image Vector Illustration Design
300x451 Gift Or Price Tag Surprised Emoji Icon Image Vector Illustration
300x451 Gift Or Price Tag Surprised Emoji Icon Image Vector Illustration
300x325 Hand Holding Smartphone With Price Tag Sale Discount Online Stock
300x325 Hand Holding Smartphone With Price Tag Sale Discount Online Stock
384x320 Market Clothes Price Tag New Wear Shirt Stock Vector Art
384x320 Market Clothes Price Tag New Wear Shirt Stock Vector Art
1300x1390 Silhouette Circular Border With Car And Price Tag Dollar Vector
1300x1390 Silhouette Circular Border With Car And Price Tag Dollar Vector
1600x1700 Silhouette Circular Shape Price Tag Icon Dollar And Keys Stock
1600x1700 Silhouette Circular Shape Price Tag Icon Dollar And Keys Stock

Tags: price, tag

All rights to the published drawing images, silhouettes, cliparts, pictures and other materials on GetDrawings.com belong to their respective owners (authors), and the Website Administration does not bear responsibility for their use. All the materials are for personal use only. If you find any inappropriate content or any content that infringes your rights, and you do not want your material to be shown on this website, please contact the administration and we will immediately remove that material protected by copyright.

shutterstock thanksgiving day

Step by Step Tutorials

Drawing Hacks