Pylon Drawing

ADVERTISEMENT

Full color drawing pics
450x450 1,757 Electricity Pylon Cliparts, Stock Vector And Royalty Free
450x450 1,757 Electricity Pylon Cliparts, Stock Vector And Royalty Free
600x517 Sydney Harbour Bridge Width Between Pylons
600x517 Sydney Harbour Bridge Width Between Pylons
480x360 93 Best Pylons Images On Paisajes, Electric And Scenery
480x360 93 Best Pylons Images On Paisajes, Electric And Scenery
1500x1500 Tom Dixon's Pylon Chair Blue Alluminium, Made By Cappellini, 1992
1500x1500 Tom Dixon's Pylon Chair Blue Alluminium, Made By Cappellini, 1992
660x661 28 Best Pylons Images On Transmission Tower
660x661 28 Best Pylons Images On Transmission Tower
640x640 40 Best Pylons Images On Industrial, Landscape Art
640x640 40 Best Pylons Images On Industrial, Landscape Art
236x342 Cappellini Pylon Chair By Tom Dixon Product Sketches
236x342 Cappellini Pylon Chair By Tom Dixon Product Sketches
1000x600 Glue Pylons Sally Barker
1000x600 Glue Pylons Sally Barker
640x426 More Debbie Smyth
640x426 More Debbie Smyth
510x510 Pylon
510x510 Pylon
398x640 Tom Dixon
398x640 Tom Dixon
1200x736 Tom Dixon Pylon Chair
1200x736 Tom Dixon Pylon Chair
1023x758 Woman Drawing Electric Pylon And Wire Stock Photo Frameangel
1023x758 Woman Drawing Electric Pylon And Wire Stock Photo Frameangel
Line drawing pics
1300x831 Electricity Pylon Isolated On White Stock Photo, Picture
1300x831 Electricity Pylon Isolated On White Stock Photo, Picture
374x529 Filepower Line.svg
374x529 Filepower Line.svg
258x194 13,169 Electricity Pylon Posters And Art Prints Barewalls
258x194 13,169 Electricity Pylon Posters And Art Prints Barewalls
449x600 Free Stock Photos
449x600 Free Stock Photos
500x500 Vector High Voltage Pylons On White Background. Isolated Colonnade
500x500 Vector High Voltage Pylons On White Background. Isolated Colonnade
850x1123 6. Ares Ii Rotor Pylon Consisting Of Rotor Drive, Control,
850x1123 6. Ares Ii Rotor Pylon Consisting Of Rotor Drive, Control,
1200x1200 Buy The Pylon Chair By Tom Dixon Connox
1200x1200 Buy The Pylon Chair By Tom Dixon Connox
720x478 Crafted Pylons Debbie Smyth
720x478 Crafted Pylons Debbie Smyth
582x800 Drawings Pepper's Warren
582x800 Drawings Pepper's Warren
576x769 Electric Pylon Model, Scale 124, 1950s Science Museum Group
576x769 Electric Pylon Model, Scale 124, 1950s Science Museum Group
789x1023 Electric Pylons Stock Photo 3dmavr
789x1023 Electric Pylons Stock Photo 3dmavr
940x1300 Electricity Pylon On White Background Stock Photo, Picture
940x1300 Electricity Pylon On White Background Stock Photo, Picture
580x315 Gps Drawing
580x315 Gps Drawing
567x567 Geometric Power Lines Steel Pylon Transmission Tower
567x567 Geometric Power Lines Steel Pylon Transmission Tower
662x800 Gr8 Technology
662x800 Gr8 Technology
750x600 Image Result For Pylons Pylons Amp Railway Tracks
750x600 Image Result For Pylons Pylons Amp Railway Tracks
3000x2471 Pylon Chair Blue
3000x2471 Pylon Chair Blue
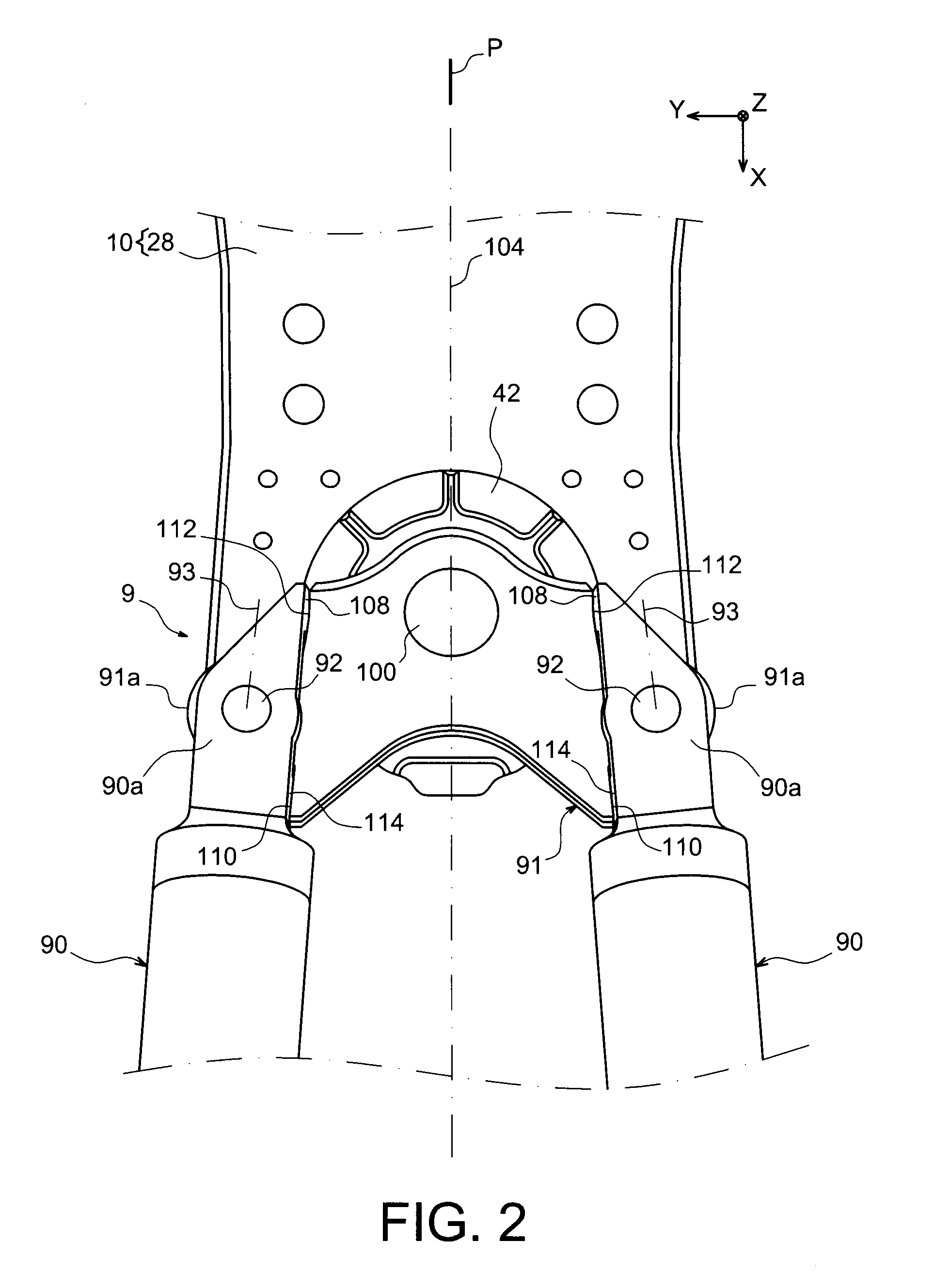
1792x2728 Patent Ep1145953a1
1792x2728 Patent Ep1145953a1
1960x2658 Patent Us20090294580
1960x2658 Patent Us20090294580
1300x1300 Power Lines. Hand Drawn Isolated On White Royalty Free Cliparts
1300x1300 Power Lines. Hand Drawn Isolated On White Royalty Free Cliparts
1300x864 Power Pylons Disappearing Into The Distance Royalty Free Cliparts
1300x864 Power Pylons Disappearing Into The Distance Royalty Free Cliparts
800x800 Power Lines Stock Vector Colourbox
800x800 Power Lines Stock Vector Colourbox
320x267 Protoss Pylon With Light
320x267 Protoss Pylon With Light
926x741 Pylon
926x741 Pylon
210x364 Pylon Chair Cappellini Armchairs Amp Sofas Tom
210x364 Pylon Chair Cappellini Armchairs Amp Sofas Tom
1272x1920 Pylon High Voltage Free Stock Photo
1272x1920 Pylon High Voltage Free Stock Photo
500x600 Pylon King, Author
500x600 Pylon King, Author
2173x1668 Pylon Patterns
2173x1668 Pylon Patterns
600x900 Pylon With Glass Insulator Strings Photograph By Cordelia Molloy
600x900 Pylon With Glass Insulator Strings Photograph By Cordelia Molloy
221x299 Pylon Design. Innovative Solution For Transmission Lines. Pylon
221x299 Pylon Design. Innovative Solution For Transmission Lines. Pylon
2000x1334 Pylon Series Pylons
2000x1334 Pylon Series Pylons
770x1089 Saatchi Art Pylon
770x1089 Saatchi Art Pylon
1920x2716 Saatchi Art Pylon With Traffic Light Drawing By Gideon Conn
1920x2716 Saatchi Art Pylon With Traffic Light Drawing By Gideon Conn
768x768 Tom Dixon's Pylon Chair Blue Alluminium, Made By Cappellini, 1992
768x768 Tom Dixon's Pylon Chair Blue Alluminium, Made By Cappellini, 1992
800x600 Transmission Pylon 3d Model
800x600 Transmission Pylon 3d Model
530x680 Vauxhall The Missing Link
530x680 Vauxhall The Missing Link
926x1300 Vector Silhouette Of Power Lines And Electric Pylons Royalty Free
926x1300 Vector Silhouette Of Power Lines And Electric Pylons Royalty Free
866x1390 Black And White Industrial Vertical Background With Electricity
866x1390 Black And White Industrial Vertical Background With Electricity
571x868 Numbers On Electricity Pylon Model
571x868 Numbers On Electricity Pylon Model
611x460 Pylons
611x460 Pylons

Tags: pylon

All rights to the published drawing images, silhouettes, cliparts, pictures and other materials on GetDrawings.com belong to their respective owners (authors), and the Website Administration does not bear responsibility for their use. All the materials are for personal use only. If you find any inappropriate content or any content that infringes your rights, and you do not want your material to be shown on this website, please contact the administration and we will immediately remove that material protected by copyright.

shutterstock thanksgiving day

Step by Step Tutorials

Drawing Hacks