Router Drawing

ADVERTISEMENT

Full color drawing pics
620x527 3d Router When A Cnc Machine Is Overkill.
620x527 3d Router When A Cnc Machine Is Overkill.
884x520 3 Axis Cnc Router
884x520 3 Axis Cnc Router
3000x2003 Drawing With A Cnc Router And A Pen
3000x2003 Drawing With A Cnc Router And A Pen
620x520 How To Make Mini Cnc Router Drawing By Arduino And Shield L293d
620x520 How To Make Mini Cnc Router Drawing By Arduino And Shield L293d
800x1147 Mini Router Table
800x1147 Mini Router Table
550x550 24 X 32 Center Mount Router Table Top
550x550 24 X 32 Center Mount Router Table Top
550x366 27 X 43 Offset Router Table Top
550x366 27 X 43 Offset Router Table Top
250x250 Dovetail Router Bits
250x250 Dovetail Router Bits
1300x1300 Drawing Router Internet Connection Modem Vector Illustration
1300x1300 Drawing Router Internet Connection Modem Vector Illustration
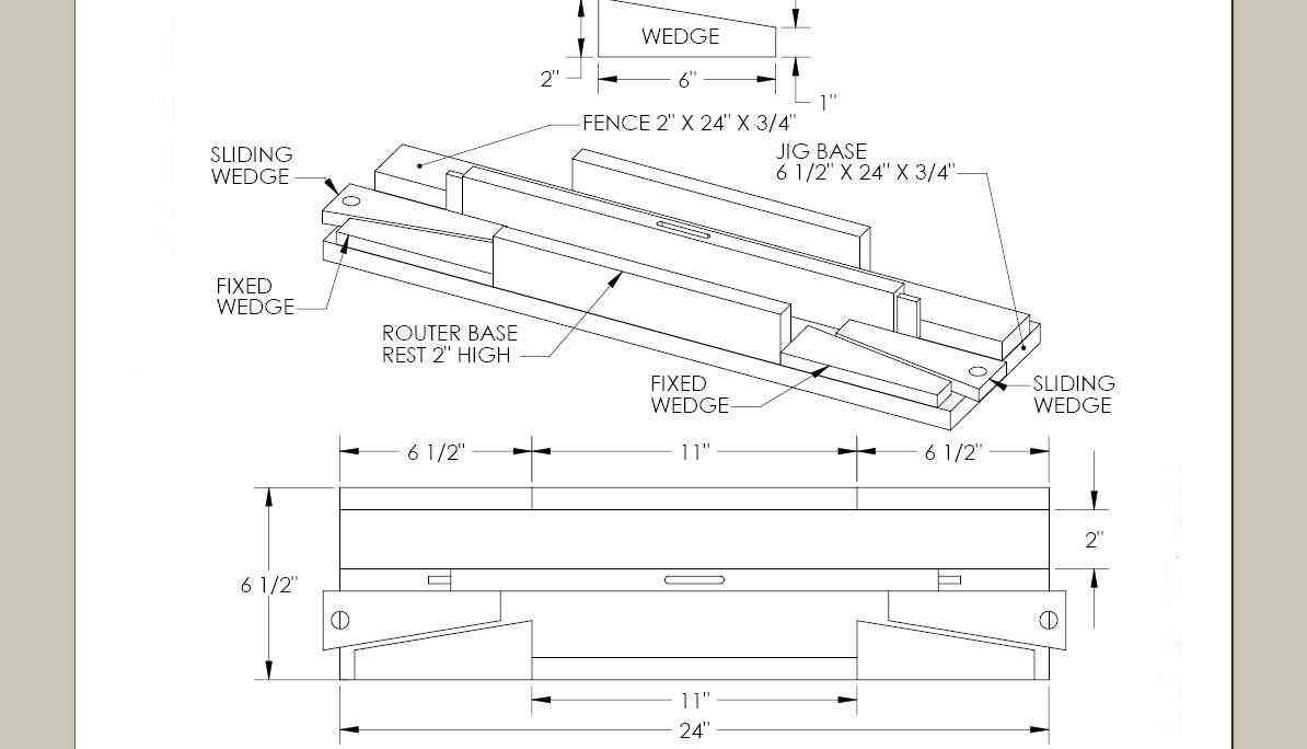
1194x684 Mortise Amp Tenon Jig For The Plunge Router
1194x684 Mortise Amp Tenon Jig For The Plunge Router
450x307 One Modem Router With Network Cables (3d Render) Clip Art
450x307 One Modem Router With Network Cables (3d Render) Clip Art
800x450 Router Bit Sets Adjustable Shaker Router Bit Sets Cmt Tools
800x450 Router Bit Sets Adjustable Shaker Router Bit Sets Cmt Tools
900x700 Workshop Wednesdays
900x700 Workshop Wednesdays
600x360 Ard
600x360 Ard
1133x1390 Drawing Of A Plunge Router Stock Photo 31327659
1133x1390 Drawing Of A Plunge Router Stock Photo 31327659
Line drawing pics
450x450 Cnc And Jigsaw Router Happy Valentine Hearts 3d Illusion Vector
450x450 Cnc And Jigsaw Router Happy Valentine Hearts 3d Illusion Vector
320x247 Planos Router Cnc By Ramiro
320x247 Planos Router Cnc By Ramiro
570x545 Marines Semper Fi Dxf File For Cnc Plasma, Laser, Router Machine
570x545 Marines Semper Fi Dxf File For Cnc Plasma, Laser, Router Machine
300x389 2218 Haase Cnc Router Al1065 Drawing Pdf
300x389 2218 Haase Cnc Router Al1065 Drawing Pdf
512x512 Doodle, Drawing, Electronics, Gadget, Hand Drawn, Internet, Router
512x512 Doodle, Drawing, Electronics, Gadget, Hand Drawn, Internet, Router
1093x1457 Ryobi Router R181fb1 User Guide
1093x1457 Ryobi Router R181fb1 User Guide
2329x2629 Butterfly Wall Shelf Cnc Router Wood Cutting Projects
2329x2629 Butterfly Wall Shelf Cnc Router Wood Cutting Projects
243x341 Hand Held Plunge Router
243x341 Hand Held Plunge Router
638x826 Mini Cnc (Router Machine)
638x826 Mini Cnc (Router Machine)
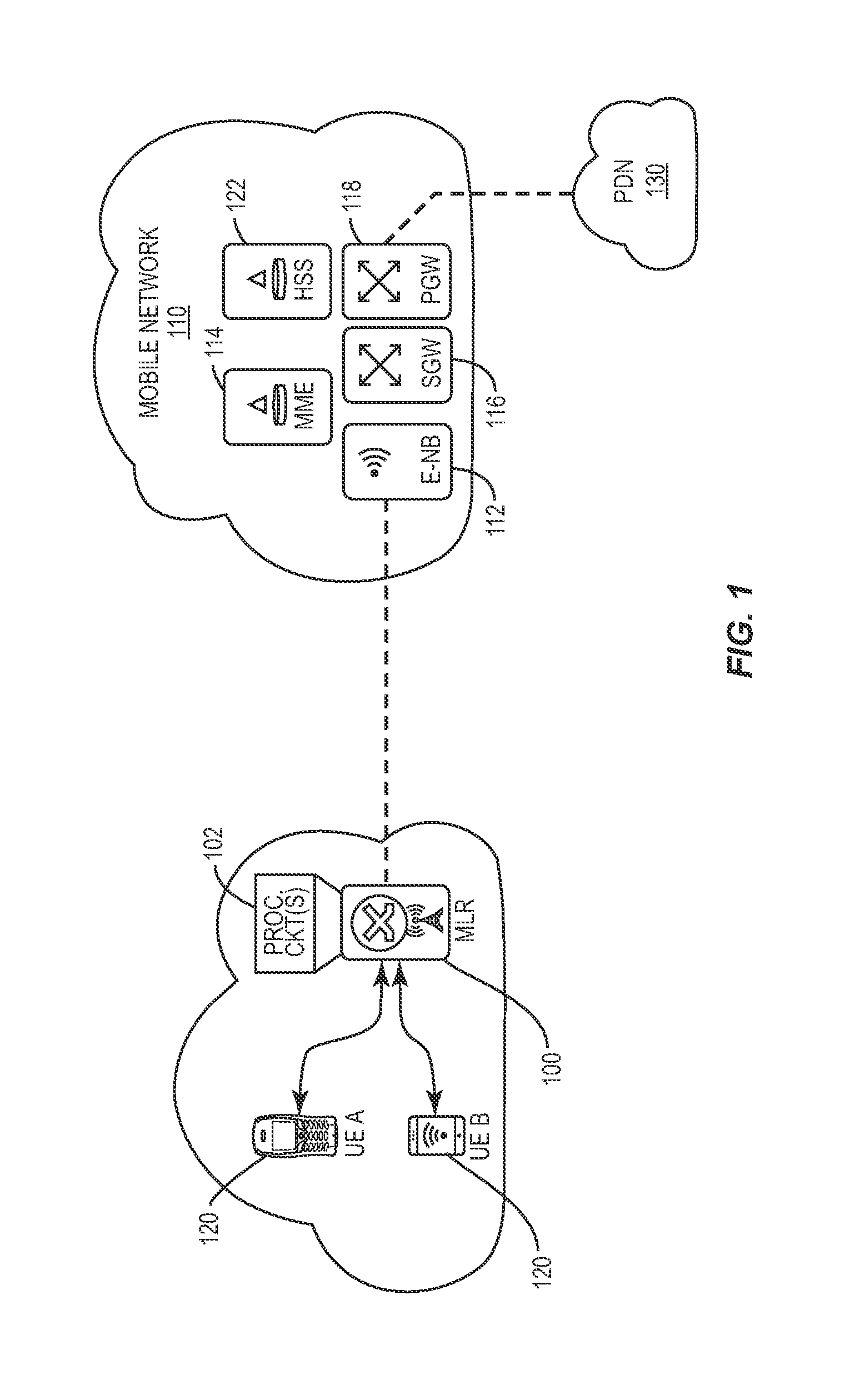
2023x2592 Patent Us7787466
2023x2592 Patent Us7787466
3458x4625 Poetic Router A Tribute To The Age Of Network Awareness By
3458x4625 Poetic Router A Tribute To The Age Of Network Awareness By
380x300 Products Sontay
380x300 Products Sontay
700x753 Router Guide For Convex Curves
700x753 Router Guide For Convex Curves
300x300 Router Tenda All For Better Networking
300x300 Router Tenda All For Better Networking
400x333 Self Centering Router Base Using A Closet Pin As Centering Pins
400x333 Self Centering Router Base Using A Closet Pin As Centering Pins
1500x1145 Skiva N300 Wifi Router With Usb Storage Port (300mbps) (Rt001)
1500x1145 Skiva N300 Wifi Router With Usb Storage Port (300mbps) (Rt001)
350x450 Tenda 3g150s 3g Router
350x450 Tenda 3g150s 3g Router
1500x1181 Weatherproofing The Acx500 Outdoor Router
1500x1181 Weatherproofing The Acx500 Outdoor Router
1047x1156 What Dishing Bits Are There
1047x1156 What Dishing Bits Are There
546x540 Wifi Router Stock Photos Amp Wifi Router Stock Images
546x540 Wifi Router Stock Photos Amp Wifi Router Stock Images
722x1024 Desenho De Montagem Do Eixo X Electronics Cnc
722x1024 Desenho De Montagem Do Eixo X Electronics Cnc
570x570 205 Best Design Files For Cnc Router And Laser Cutting Images
570x570 205 Best Design Files For Cnc Router And Laser Cutting Images
523x700 379 Best Router Images On Woodworking, Woodworking
523x700 379 Best Router Images On Woodworking, Woodworking
350x450 A5004ns Ac1600 Wireless Dual Band Gigabit Router
350x450 A5004ns Ac1600 Wireless Dual Band Gigabit Router
425x425 Netgear Insight Wifi Access Point Router, Poe, Mid
425x425 Netgear Insight Wifi Access Point Router, Poe, Mid
350x450 Totolink Ac1200 Dual Band Wireless Wifi Router, Wifi
350x450 Totolink Ac1200 Dual Band Wireless Wifi Router, Wifi
1000x1000 Bipac 4400cr Q2
1000x1000 Bipac 4400cr Q2
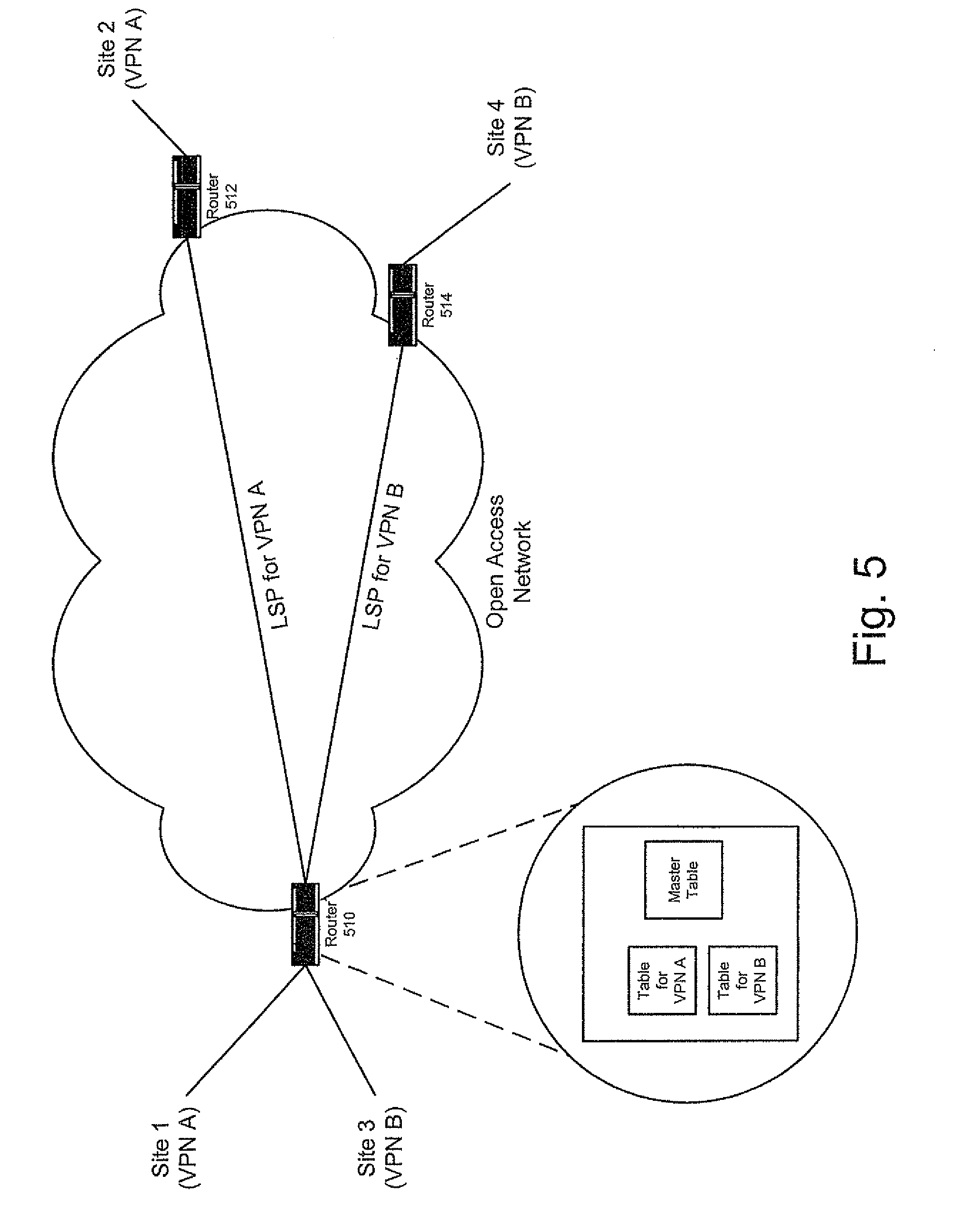
1521x2520 Brevet Us20120215931
1521x2520 Brevet Us20120215931
720x540 Cnc Router And Cnc Machining Center Safe Working Practices
720x540 Cnc Router And Cnc Machining Center Safe Working Practices
730x338 Cascading Routers Comms Infozone
730x338 Cascading Routers Comms Infozone
452x584 Cheap And Quallity Wireless Router 150n
452x584 Cheap And Quallity Wireless Router 150n
425x498 Digisol Dg Bg4100nu N150 Wireless Adsl Router With Usb (White
425x498 Digisol Dg Bg4100nu N150 Wireless Adsl Router With Usb (White
1201x1201 How Do I Change The Router Bit Shaper
1201x1201 How Do I Change The Router Bit Shaper
348x261 Levelone
348x261 Levelone
600x423 Lock Down Router Bushings Without Damage
600x423 Lock Down Router Bushings Without Damage
427x500 M M Mobiles
427x500 M M Mobiles
630x901 Makita Rp0900 Plunge Router Spare Parts
630x901 Makita Rp0900 Plunge Router Spare Parts

Tags: router

All rights to the published drawing images, silhouettes, cliparts, pictures and other materials on GetDrawings.com belong to their respective owners (authors), and the Website Administration does not bear responsibility for their use. All the materials are for personal use only. If you find any inappropriate content or any content that infringes your rights, and you do not want your material to be shown on this website, please contact the administration and we will immediately remove that material protected by copyright.

shutterstock thanksgiving day

Step by Step Tutorials

Drawing Hacks