Back To The Future Drawing

ADVERTISEMENT

Full color drawing pics
1024x724 Back To The Future Marty Mcfly Drawing By Billyboyuk
1024x724 Back To The Future Marty Mcfly Drawing By Billyboyuk
736x1028 56 Best Back To The Future Images On Marty Mcfly
736x1028 56 Best Back To The Future Images On Marty Mcfly
1456x1942 Back To The Future Drawing Back To The Future Drawing My Path
1456x1942 Back To The Future Drawing Back To The Future Drawing My Path
1024x1024 Ben Charman On Twitter Back To The Future Cartoon Drawing
1024x1024 Ben Charman On Twitter Back To The Future Cartoon Drawing
700x922 Colored Pencil Drawing Of Marty Mcfly And The Delorean From Back
700x922 Colored Pencil Drawing Of Marty Mcfly And The Delorean From Back
300x200 How To Draw The Delorean Time Machine From Back To The Future
300x200 How To Draw The Delorean Time Machine From Back To The Future
720x899 166 Best Back To Future Images On Back To
720x899 166 Best Back To Future Images On Back To
2592x1944 A Back To The Future Trilogy Drawing I Made
2592x1944 A Back To The Future Trilogy Drawing I Made
668x884 Back To The Future By Dustin Weaver Escape From Reality
668x884 Back To The Future By Dustin Weaver Escape From Reality
1280x720 Drawing Marty Mcfly From Back To The Future
1280x720 Drawing Marty Mcfly From Back To The Future
600x900 Marty Mcfly
600x900 Marty Mcfly
480x749 Watercolor Back To The Future By Mikemaihack
480x749 Watercolor Back To The Future By Mikemaihack
1519x1565 Work In Progress Back To The Future 2
1519x1565 Work In Progress Back To The Future 2
2048x1472 Back To The Future Drawing My Path
2048x1472 Back To The Future Drawing My Path
596x798 Back To The Future Things I Hate To Draw
596x798 Back To The Future Things I Hate To Draw
Line drawing pics
1024x768 Delorean Coloring Pages! Family Movies
1024x768 Delorean Coloring Pages! Family Movies
1024x756 Back To The Future By Thelilalien
1024x756 Back To The Future By Thelilalien
984x747 Lightnin Coloring Pages!
984x747 Lightnin Coloring Pages!
1024x1019 Great Scott!
1024x1019 Great Scott!
236x342 Back To The Future Iii [ Movie ]
236x342 Back To The Future Iii [ Movie ]
800x614 Biff's Hotel And Casino
800x614 Biff's Hotel And Casino
300x369 Dynamic
300x369 Dynamic
354x500 Delorean Dmc 12 (Attempt 2) A Free Hand Drawing
354x500 Delorean Dmc 12 (Attempt 2) A Free Hand Drawing
508x444 Back To The Future Stencil By Glitchintexas
508x444 Back To The Future Stencil By Glitchintexas
401x470 56 Best Back To The Future Images On Marty Mcfly
401x470 56 Best Back To The Future Images On Marty Mcfly
736x942 575 Best Drawings Images On Draw, Art Drawings
736x942 575 Best Drawings Images On Draw, Art Drawings
1000x1500 Back To The Future
1000x1500 Back To The Future
940x940 Back To The Future Doc Emmett Brown Sketch One Piece
940x940 Back To The Future Doc Emmett Brown Sketch One Piece
383x595 Back To The Future Tattoo Idea Tattoo Ideas Future
383x595 Back To The Future Tattoo Idea Tattoo Ideas Future
600x766 Back To The Future Illustration
600x766 Back To The Future Illustration
854x1166 Back To The Future Favourites By Zamayn
854x1166 Back To The Future Favourites By Zamayn
3840x4502 Bill Hope
3840x4502 Bill Hope
474x305 Concept Drawings By Edward Eyth For Back To Future 2, Like
474x305 Concept Drawings By Edward Eyth For Back To Future 2, Like
744x1052 Disegni Da Colorare
744x1052 Disegni Da Colorare
600x866 Doc Brown From Back To Futureme, Photo And Artwork
600x866 Doc Brown From Back To Futureme, Photo And Artwork
990x500 Filmmakers Take A Big Risk When Making Any Bold Statements About
990x500 Filmmakers Take A Big Risk When Making Any Bold Statements About
500x589 Happy Back To The Future Day!
500x589 Happy Back To The Future Day!
1024x724 I'Ll Be Back To The Future Line Art By Pingriff
1024x724 I'Ll Be Back To The Future Line Art By Pingriff
1996x1996 Inktober
1996x1996 Inktober
894x894 Inktober Day 21
894x894 Inktober Day 21
700x980 Marty Vs. Bear
700x980 Marty Vs. Bear
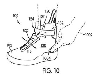
320x251 Nike's Got Back To The Future Ii Sneaker Patents
320x251 Nike's Got Back To The Future Ii Sneaker Patents
236x270 Pick Your Message! Happy Birthday, Nerd. Or Hello Mcfly. Funny
236x270 Pick Your Message! Happy Birthday, Nerd. Or Hello Mcfly. Funny
2048x2048 Sketch] Back To The Future Disney Style By Edgardlops
2048x2048 Sketch] Back To The Future Disney Style By Edgardlops
492x706 Sketchbook Hovercat
492x706 Sketchbook Hovercat
1019x783 Trunks Back To The Future By Bloodasp101
1019x783 Trunks Back To The Future By Bloodasp101
642x419 Waaay Back To The Future Nike's 23 Year Journey To Make Mcfly's Shoes
642x419 Waaay Back To The Future Nike's 23 Year Journey To Make Mcfly's Shoes
1080x1080 What Made Me Draw This Was Actually Inspired By Back To The Future
1080x1080 What Made Me Draw This Was Actually Inspired By Back To The Future
724x1024 Back To The Future Images
724x1024 Back To The Future Images
736x371 100 Best Steven Spielberg's Back To The Future Anthology Images
736x371 100 Best Steven Spielberg's Back To The Future Anthology Images
360x550 1885 Doc Brown By Back To The Future
360x550 1885 Doc Brown By Back To The Future
570x650 30 Best Back To Future Images On Back To
570x650 30 Best Back To Future Images On Back To
640x463 9 Best Back To The Future Ii Concepts Images On Back
640x463 9 Best Back To The Future Ii Concepts Images On Back
1363x1600 Amfx Creations Flux Capacitor Drawing
1363x1600 Amfx Creations Flux Capacitor Drawing
236x268 Back To The Future
236x268 Back To The Future
919x1024 Back To The Future Drawing Fire Bad Back To The Future Is Now
919x1024 Back To The Future Drawing Fire Bad Back To The Future Is Now
300x300 Back To The Future Mag Shoes Waterproof Decal Sticker For Door
300x300 Back To The Future Mag Shoes Waterproof Decal Sticker For Door
1072x745 Back To The Future By Morteneng21
1072x745 Back To The Future By Morteneng21
380x494 Back To The Future
380x494 Back To The Future
1200x870 Back To The Future Future, Fashion Illustrations And Illustrations
1200x870 Back To The Future Future, Fashion Illustrations And Illustrations
762x1048 Back To The Future 2 Pencil Sketch By Calebperkins
762x1048 Back To The Future 2 Pencil Sketch By Calebperkins
1024x754 Back To The Future Redux By Scruffyscribbler
1024x754 Back To The Future Redux By Scruffyscribbler
762x1048 Back To The Future By Shabazik
762x1048 Back To The Future By Shabazik

Tags: back, future

All rights to the published drawing images, silhouettes, cliparts, pictures and other materials on GetDrawings.com belong to their respective owners (authors), and the Website Administration does not bear responsibility for their use. All the materials are for personal use only. If you find any inappropriate content or any content that infringes your rights, and you do not want your material to be shown on this website, please contact the administration and we will immediately remove that material protected by copyright.

shutterstock thanksgiving day

Step by Step Tutorials

Drawing Hacks