Cloud Computing Drawing

ADVERTISEMENT

Full color drawing pics
1300x956 Cloud Computing Concept Drawing On Blackboard Cloud Computing
1300x956 Cloud Computing Concept Drawing On Blackboard Cloud Computing
1300x1300 Businessman Drawing A Cloud Computing Diagram On The Whiteboard
1300x1300 Businessman Drawing A Cloud Computing Diagram On The Whiteboard
1300x956 Businessman Drawing A Cloud Computing Concept Stock Photo, Royalty
1300x956 Businessman Drawing A Cloud Computing Concept Stock Photo, Royalty
749x440 Cloud Computing Drawing Concept Stock Photos
749x440 Cloud Computing Drawing Concept Stock Photos
1300x909 Cloud Computing Drawing On The Blackboard Royalty Free Cliparts
1300x909 Cloud Computing Drawing On The Blackboard Royalty Free Cliparts
1300x1182 Cloud Computing Drawing Sketch On The Note Royalty Free Cliparts
1300x1182 Cloud Computing Drawing Sketch On The Note Royalty Free Cliparts
1300x1214 Cloud Computing Drawing Sketch On The White Board Royalty Free
1300x1214 Cloud Computing Drawing Sketch On The White Board Royalty Free
1300x1182 Cloud Computing Drawing Sketch Royalty Free Cliparts, Vectors,
1300x1182 Cloud Computing Drawing Sketch Royalty Free Cliparts, Vectors,
400x266 Cloud Computing Solutions Itc
400x266 Cloud Computing Solutions Itc
571x460 Free Drawing Of Cloud Computing From The Category Computers
571x460 Free Drawing Of Cloud Computing From The Category Computers
1920x1080 Hand Drawing Cloud Computing Brainstorm With Doodle Apps Stock
1920x1080 Hand Drawing Cloud Computing Brainstorm With Doodle Apps Stock
1920x1080 Hand Drawing Cloud Computing Brainstorm With Doodles Stock
1920x1080 Hand Drawing Cloud Computing Brainstorm With Doodles Stock
1023x609 Young Woman Drawing Cloud Computing Diagram Stock Photo
1023x609 Young Woman Drawing Cloud Computing Diagram Stock Photo
1300x1390 Close Up Of Hand Drawing Cloud Computing Diagram On The New
1300x1390 Close Up Of Hand Drawing Cloud Computing Diagram On The New
Line drawing pics
1300x1300 Abstract Cloud Computing And Network Connections Concept Design
1300x1300 Abstract Cloud Computing And Network Connections Concept Design
512x512 Cloud Based Technology, Cloud Computing Technology, Cloud
512x512 Cloud Based Technology, Cloud Computing Technology, Cloud
1300x1300 Vector Cloud Computing Sketch Pattern Royalty Free Cliparts
1300x1300 Vector Cloud Computing Sketch Pattern Royalty Free Cliparts
512x512 Add, Cloud, Cloud Computing, Computing, Connection, Internet, Plus
512x512 Add, Cloud, Cloud Computing, Computing, Connection, Internet, Plus
1024x814 Bloody Dreadful Interview With L.a. Sykes Blog
1024x814 Bloody Dreadful Interview With L.a. Sykes Blog
450x385 Businessman Drawing A Cloud Computing Diagram On The Whiteboard
450x385 Businessman Drawing A Cloud Computing Diagram On The Whiteboard
450x450 Cartoon Drawing Of Cloud Computing Stock Vector Fatimaj
450x450 Cartoon Drawing Of Cloud Computing Stock Vector Fatimaj
512x512 Cloud Computing
512x512 Cloud Computing
700x490 Cloud Computing Concept Sketch On Paper Vector
700x490 Cloud Computing Concept Sketch On Paper Vector
450x386 Cloud Computing Doodle, Hand Drawing Style Royalty Free Cliparts
450x386 Cloud Computing Doodle, Hand Drawing Style Royalty Free Cliparts
585x540 Cloud Computing Drawings Stock Photos Amp Cloud Computing Drawings
585x540 Cloud Computing Drawings Stock Photos Amp Cloud Computing Drawings
450x470 Cloud Computing Vector Sketch Icon Vector Amp Photo Bigstock
450x470 Cloud Computing Vector Sketch Icon Vector Amp Photo Bigstock
759x500 Cloud Computing The Great Cloud Migration
759x500 Cloud Computing The Great Cloud Migration
1024x1024 Cloud Computing Sketch Icon. Stock Vector Rastudio
1024x1024 Cloud Computing Sketch Icon. Stock Vector Rastudio
1024x1024 Cloud Computing Sketch Icon. Stock Vector Rastudio
1024x1024 Cloud Computing Sketch Icon. Stock Vector Rastudio
1024x1024 Cloud Computing Sketch Stock Vector Lhfgraphics
1024x1024 Cloud Computing Sketch Stock Vector Lhfgraphics
800x800 Cloud Computing Vector Sketch Icon Isolated On Background. Hand
800x800 Cloud Computing Vector Sketch Icon Isolated On Background. Hand
1300x1390 Cloud Data Sketch Hand Drawn. Cloud Computing And Cloud Security
1300x1390 Cloud Data Sketch Hand Drawn. Cloud Computing And Cloud Security
1178x1094 Cloudtweaks On Twitter What's On The Horizon
1178x1094 Cloudtweaks On Twitter What's On The Horizon
1019x1023 Data Analysis And Cloud Computing Stock Vector Ozerina
1019x1023 Data Analysis And Cloud Computing Stock Vector Ozerina
450x470 Design Concepts For Data Architecture, Big Technology, Database
450x470 Design Concepts For Data Architecture, Big Technology, Database
450x450 Doodle Style Cloud Computing Illustration Showing Data Being
450x450 Doodle Style Cloud Computing Illustration Showing Data Being
1299x1300 Doodle Style Global Cloud Computing Illustration Showing Data
1299x1300 Doodle Style Global Cloud Computing Illustration Showing Data
3066x2503 Filecloud Computing.jpg
3066x2503 Filecloud Computing.jpg
1024x1024 Hand Draw Doodle Cloud Shapes Collection. Icons For Computing Web
1024x1024 Hand Draw Doodle Cloud Shapes Collection. Icons For Computing Web
236x324 Hand Drawn Vector Drawing Of A Movie Play Button On A Smartphone
236x324 Hand Drawn Vector Drawing Of A Movie Play Button On A Smartphone
1280x868 Keys To A Successful Cloud Migration
1280x868 Keys To A Successful Cloud Migration
605x416 Managed Cloud Services Cloud Infrastructure Management Dataprise
605x416 Managed Cloud Services Cloud Infrastructure Management Dataprise
600x474 Network Cloud Computing Clip Art Free Vector In Open Office
600x474 Network Cloud Computing Clip Art Free Vector In Open Office
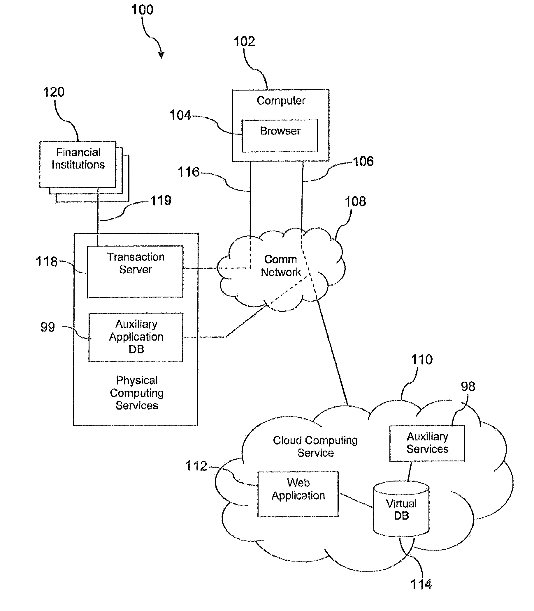
1832x2099 Patent Us20130060657
1832x2099 Patent Us20130060657
419x540 Sketch Cloud Upload Stock Photos Amp Sketch Cloud Upload Stock
419x540 Sketch Cloud Upload Stock Photos Amp Sketch Cloud Upload Stock
1300x1047 Smart It Programmer Drawing Cloud Computing Technology Plan
1300x1047 Smart It Programmer Drawing Cloud Computing Technology Plan
1178x1094 Voice Hub Cloud Computing (With Cartoons)
1178x1094 Voice Hub Cloud Computing (With Cartoons)
960x784 What's Next For The Cloud The Intercloud
960x784 What's Next For The Cloud The Intercloud
1667x1667 When Artificial Intelligence Meets The Cloud Rick's Cloud
1667x1667 When Artificial Intelligence Meets The Cloud Rick's Cloud
236x484 Art
236x484 Art
705x800 Cloud Computing Posters By Mtkang Redbubble
705x800 Cloud Computing Posters By Mtkang Redbubble
550x550 Of Shellshock Bash Bug On Cloud Computing
550x550 Of Shellshock Bash Bug On Cloud Computing

Tags: cloud, computing

All rights to the published drawing images, silhouettes, cliparts, pictures and other materials on GetDrawings.com belong to their respective owners (authors), and the Website Administration does not bear responsibility for their use. All the materials are for personal use only. If you find any inappropriate content or any content that infringes your rights, and you do not want your material to be shown on this website, please contact the administration and we will immediately remove that material protected by copyright.

shutterstock thanksgiving day

Step by Step Tutorials

Drawing Hacks