Dvd Player Drawing

ADVERTISEMENT

Full color drawing pics
687x514 Car Dvd Player Wiring Diagram Relay Wiring
687x514 Car Dvd Player Wiring Diagram Relay Wiring
617x431 How To Repair Dvd Player
617x431 How To Repair Dvd Player
716x284 3v 24vdc Micro Motor For Electric Shaver,ddvd Rom Drive And Cd
716x284 3v 24vdc Micro Motor For Electric Shaver,ddvd Rom Drive And Cd
624x442 41 Best Electronics Repair Made Easy Images On Tools
624x442 41 Best Electronics Repair Made Easy Images On Tools
3181x2144 Audio And Video Connections Explained Design Elements
3181x2144 Audio And Video Connections Explained Design Elements
1200x649 Avic N1 Wiring Diagram
1200x649 Avic N1 Wiring Diagram
743x1023 Diy Overhead Dvdmonitor Install
743x1023 Diy Overhead Dvdmonitor Install
960x1280 Dvd Player Design Marker Drawing Pastel Uni 0.1mm0.5mm Product
960x1280 Dvd Player Design Marker Drawing Pastel Uni 0.1mm0.5mm Product
617x431 Dvd Player Block Diagram
617x431 Dvd Player Block Diagram
450x470 Dvd Player Doodle Clip Art Vector
450x470 Dvd Player Doodle Clip Art Vector
450x470 Dvd Player Doodle Clipart Vector
450x470 Dvd Player Doodle Clipart Vector
472x333 Electronic Equipment Repair Centre Jvc Xv S40bk
472x333 Electronic Equipment Repair Centre Jvc Xv S40bk
1600x853 Kenwood Dvd Player Wiring Diagram Interesting Pioneer Contemporary
1600x853 Kenwood Dvd Player Wiring Diagram Interesting Pioneer Contemporary
668x616 Samsung Ht Tz315 Dvd Player Loading Forever Electronics Repair
668x616 Samsung Ht Tz315 Dvd Player Loading Forever Electronics Repair
594x356 Vcr Dvd Player Buttons Clip Art Free Vector In Open Office Drawing
594x356 Vcr Dvd Player Buttons Clip Art Free Vector In Open Office Drawing
Line drawing pics
450x470 Dvd Player Images, Illustrations, Vectors
450x470 Dvd Player Images, Illustrations, Vectors
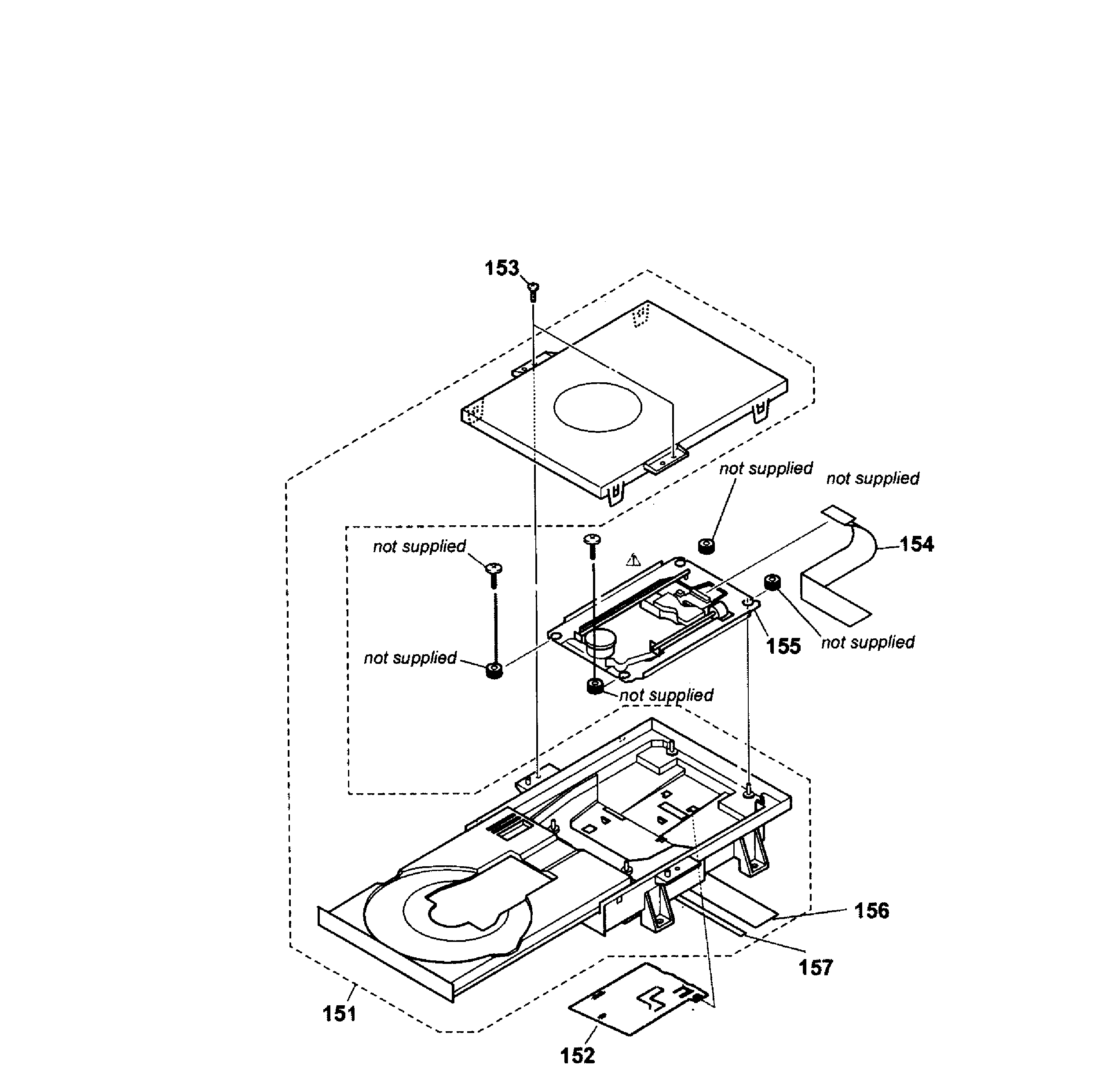
2140x2680 Panasonic Blu Ray Dvd Player Parts Model Dmpbd80p Sears
2140x2680 Panasonic Blu Ray Dvd Player Parts Model Dmpbd80p Sears
250x250 Panasonic Dvd Player Parts Model Dvds27p Sears Partsdirect
250x250 Panasonic Dvd Player Parts Model Dvds27p Sears Partsdirect
950x1157 Samsung Dvd P244 Exploded View Smps Circuit Diagram Electro Help
950x1157 Samsung Dvd P244 Exploded View Smps Circuit Diagram Electro Help
737x928 Ah42 19c043 Fa, Dvd Player, Cr 5
737x928 Ah42 19c043 Fa, Dvd Player, Cr 5
852x990 Best Dvd Player Block Diagram Daewoo Dv700s Dvd Player Schematic
852x990 Best Dvd Player Block Diagram Daewoo Dv700s Dvd Player Schematic
512x512 Car, Control, Dvd, Player, Remote, Steering, Wheel Icon Icon
512x512 Car, Control, Dvd, Player, Remote, Steering, Wheel Icon Icon
2608x1773 Connecting A Dvd Player Or Blu Ray Disc Sr5010 Conne 5010u
2608x1773 Connecting A Dvd Player Or Blu Ray Disc Sr5010 Conne 5010u
236x216 How To Maintain Your Dvd Player Diy Projects
236x216 How To Maintain Your Dvd Player Diy Projects
873x873 I Bought A Used Honda Oem Dvd Player For My 2004 Odyssey. How To I
873x873 I Bought A Used Honda Oem Dvd Player For My 2004 Odyssey. How To I
539x600 Mount Sf003 Vivo Floating Wall Mount Tempered Triple Glass Shelf
539x600 Mount Sf003 Vivo Floating Wall Mount Tempered Triple Glass Shelf
1024x745 Magnavox 557, 537, 535, 533, 515, 513, 2160a, 2160, 2080 Amp Philips
1024x745 Magnavox 557, 537, 535, 533, 515, 513, 2160a, 2160, 2080 Amp Philips
2549x2740 Panasonic Blu Ray Dvd Player Parts Model Dmpbdt230p Sears
2549x2740 Panasonic Blu Ray Dvd Player Parts Model Dmpbdt230p Sears
250x250 Panasonic Dvd Player Parts Model Dvd K520d Sears Partsdirect
250x250 Panasonic Dvd Player Parts Model Dvd K520d Sears Partsdirect
2539x2542 Panasonic Dvd Player Parts Model Dmpbdt220p Sears Partsdirect
2539x2542 Panasonic Dvd Player Parts Model Dmpbdt220p Sears Partsdirect
1275x1651 Pdf Manual For Pioneer Portable Dvd Player Pdv Lc20
1275x1651 Pdf Manual For Pioneer Portable Dvd Player Pdv Lc20
600x341 Pet70858 Philips Portable Dvd Player Pet708
600x341 Pet70858 Philips Portable Dvd Player Pet708
1202x1584 Page 12 Of Magnavox Dvd Player Mrd 200 User Guide
1202x1584 Page 12 Of Magnavox Dvd Player Mrd 200 User Guide
1123x1551 Page 43 Of Samsung Dvd Player Dvd P355bxeh User Guide
1123x1551 Page 43 Of Samsung Dvd Player Dvd P355bxeh User Guide
1000x1374 Page 52 Of Sony Dvd Player 4 216 349 0 Us Model 4 216 349 1
1000x1374 Page 52 Of Sony Dvd Player 4 216 349 0 Us Model 4 216 349 1
1044x1393 Page 8 Of Audiovox Dvd Player Vod705 User Guide
1044x1393 Page 8 Of Audiovox Dvd Player Vod705 User Guide
1044x1393 Page 8 Of Audiovox Portable Dvd Player Vod 808 User Guide
1044x1393 Page 8 Of Audiovox Portable Dvd Player Vod 808 User Guide
1007x1290 Page 86 Of Toshiba Dvd Player Sd 4900 User Guide
1007x1290 Page 86 Of Toshiba Dvd Player Sd 4900 User Guide
600x492 Nissan Console Center Console Console Body Wdvd
600x492 Nissan Console Center Console Console Body Wdvd
2409x3455 Patent Usd496011
2409x3455 Patent Usd496011
1248x1633 Patent Usd511755
1248x1633 Patent Usd511755
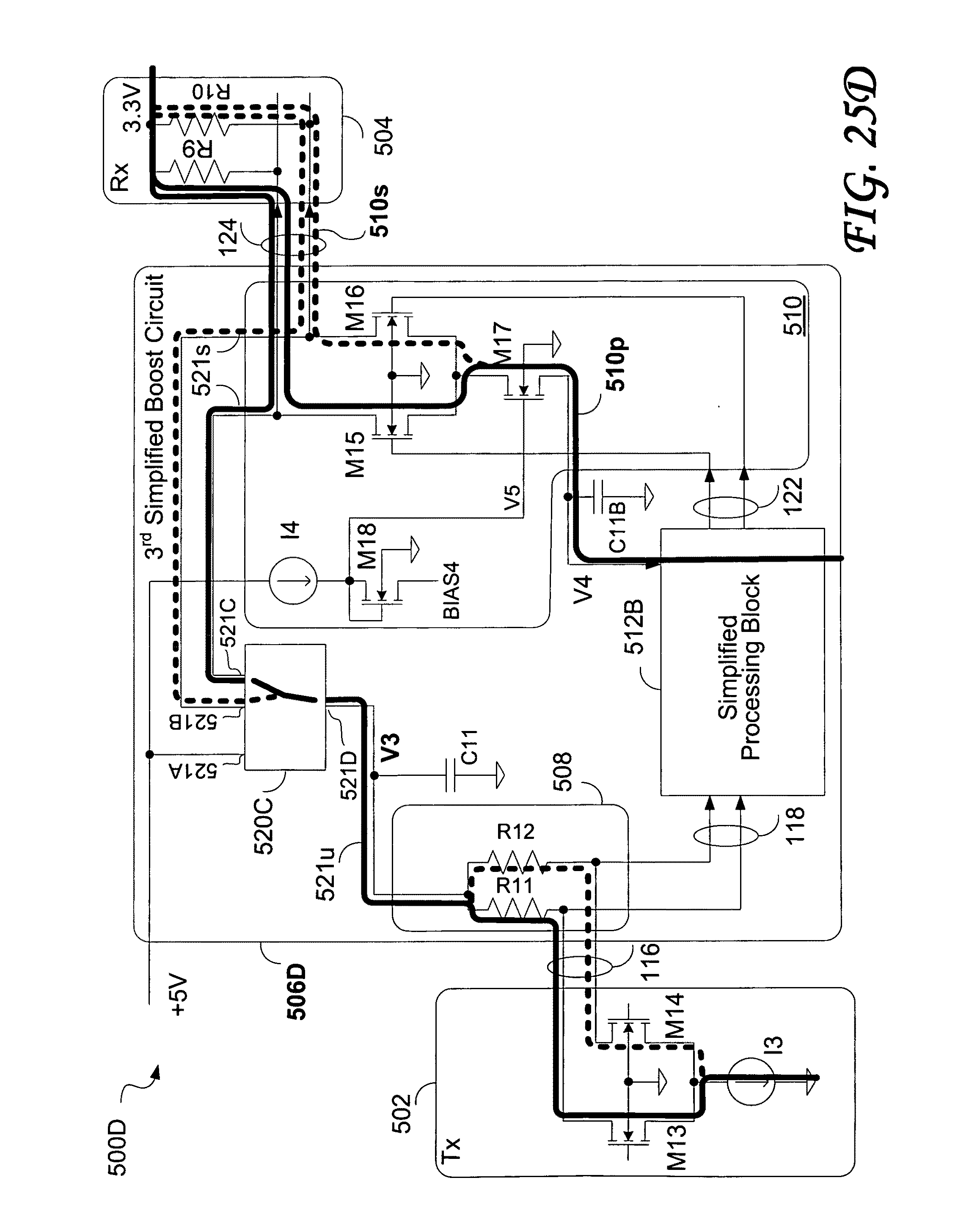
2316x2906 Patent Us20100283532 Startup Circuit And High Speed Cable Using
2316x2906 Patent Us20100283532 Startup Circuit And High Speed Cable Using
345x450 Philips Car Mount Ce01130 For Philips Portable Dvd Amazon.co.uk
345x450 Philips Car Mount Ce01130 For Philips Portable Dvd Amazon.co.uk
2528x3556 Radio Dvd Player Opel Signum
2528x3556 Radio Dvd Player Opel Signum
2545x2456 Samsung Dvd Player Parts Model Bdf5100zajt04 Sears Partsdirect
2545x2456 Samsung Dvd Player Parts Model Bdf5100zajt04 Sears Partsdirect
2535x2465 Sony Dvd Player Parts Model Bdpbx510 Sears Partsdirect
2535x2465 Sony Dvd Player Parts Model Bdpbx510 Sears Partsdirect
2545x2818 Sony Dvd Player Parts Model Bdps1100 Sears Partsdirect
2545x2818 Sony Dvd Player Parts Model Bdps1100 Sears Partsdirect
2546x2464 Sony Dvd Player Parts Model Bdps770 Sears Partsdirect
2546x2464 Sony Dvd Player Parts Model Bdps770 Sears Partsdirect
2556x2053 Sony Dvd Player Parts Model Hbdn5200w Sears Partsdirect
2556x2053 Sony Dvd Player Parts Model Hbdn5200w Sears Partsdirect
2367x3306 Samsung Dvd Hd841 Dvd Player Chassis Trino Grassoft Digital Service
2367x3306 Samsung Dvd Hd841 Dvd Player Chassis Trino Grassoft Digital Service
236x303 The Hero's Of Best Western Coral Hills Coloring Pages, Bw Coral
236x303 The Hero's Of Best Western Coral Hills Coloring Pages, Bw Coral
1440x1779 Watercolor Portrait Workshop With Susan Harrison Tustain For All
1440x1779 Watercolor Portrait Workshop With Susan Harrison Tustain For All
2795x2182 Yamaha Dvd Player Parts Model Dvdc740 Sears Partsdirect
2795x2182 Yamaha Dvd Player Parts Model Dvdc740 Sears Partsdirect

Tags: dvd, player

All rights to the published drawing images, silhouettes, cliparts, pictures and other materials on GetDrawings.com belong to their respective owners (authors), and the Website Administration does not bear responsibility for their use. All the materials are for personal use only. If you find any inappropriate content or any content that infringes your rights, and you do not want your material to be shown on this website, please contact the administration and we will immediately remove that material protected by copyright.

shutterstock thanksgiving day

Step by Step Tutorials

Drawing Hacks