Modem Drawing

ADVERTISEMENT

Full color drawing pics
300x300 12.04
300x300 12.04
800x800 8 Inch Electronic Animation Design Digital Pen Touch Usb Kids 3d
800x800 8 Inch Electronic Animation Design Digital Pen Touch Usb Kids 3d
900x540 Drawing Modem Clip Art
900x540 Drawing Modem Clip Art
682x337 Electrical Drawing Notation
682x337 Electrical Drawing Notation
320x320 Figure 8 Number Of Cable Modem Users (Thousands) Scientific Diagram
320x320 Figure 8 Number Of Cable Modem Users (Thousands) Scientific Diagram
480x360 How To Draw A Creative Modem
480x360 How To Draw A Creative Modem
869x773 Improving Your Wifi Range Melita Online Help Centre
869x773 Improving Your Wifi Range Melita Online Help Centre
210x230 Modem Drawing Gifts Amp Merchandise Redbubble
210x230 Modem Drawing Gifts Amp Merchandise Redbubble
350x350 New! Huion 1060pro  Big Active Area Art Design Digital Pc Graphic
350x350 New! Huion 1060pro Big Active Area Art Design Digital Pc Graphic
820x820 Play Hookie Bag
820x820 Play Hookie Bag
963x640 What's The Difference Between Modems, Routers And Switches
963x640 What's The Difference Between Modems, Routers And Switches
360x360 Xp Pen G540 5.5 X 4 Inches Graphic Drawing Tablet With Writing
360x360 Xp Pen G540 5.5 X 4 Inches Graphic Drawing Tablet With Writing
Line drawing pics
1000x994 Modem Coloring Page
1000x994 Modem Coloring Page
450x585 2018 1200mbps Poe Powerline Ethernet Modem For Video Surveillance
450x585 2018 1200mbps Poe Powerline Ethernet Modem For Video Surveillance
1000x850 An 500 Ap I Ac 500 Series Indoor Wireless Ac 1200 Access Point
1000x850 An 500 Ap I Ac 500 Series Indoor Wireless Ac 1200 Access Point
1200x1200 N600 Wireless N Dual Band (2.4ghz Amp 5ghz
1200x1200 N600 Wireless N Dual Band (2.4ghz Amp 5ghz
466x466 Wifi Range Extenderamplan Router,extender Wifi Signal
466x466 Wifi Range Extenderamplan Router,extender Wifi Signal
355x266 Billion Bipac 5200s Rc Single Port Adsl2  Modemrouter Amazon.co
355x266 Billion Bipac 5200s Rc Single Port Adsl2 Modemrouter Amazon.co
300x400 Draytek
300x400 Draytek
427x500 Digisol Router Dg Bg4100nu Amp Digisol Router Dg Bg4300nu Retailer
427x500 Digisol Router Dg Bg4100nu Amp Digisol Router Dg Bg4300nu Retailer
239x295 Draytek Modems Voip Hardware Amp Products Packnet
239x295 Draytek Modems Voip Hardware Amp Products Packnet
300x300 Draytek Vigor 2760n Draadloze Modem Router, 3g, 4g,nnex
300x300 Draytek Vigor 2760n Draadloze Modem Router, 3g, 4g,nnex
1024x844 Home Network Intrusion Detection System 6 Steps
1024x844 Home Network Intrusion Detection System 6 Steps
225x182 Huawei E5830c Unlocked Orange Modem Mobile Wifi Device 3g Ebay
225x182 Huawei E5830c Unlocked Orange Modem Mobile Wifi Device 3g Ebay
500x500 Huawei E8231 Unlocked Mobile Wifi Hspa  21mbps 3g Wifi Modem
500x500 Huawei E8231 Unlocked Mobile Wifi Hspa 21mbps 3g Wifi Modem
266x340 Linksys Re6400 Ac1200 Boost Price In Saudi Arabia
266x340 Linksys Re6400 Ac1200 Boost Price In Saudi Arabia
390x355 Modem Card
390x355 Modem Card
295x356 Modem Card
295x356 Modem Card
535x536 My Scrappy Ideas Post Modem Autopsy
535x536 My Scrappy Ideas Post Modem Autopsy
400x510 Netgear Prosafe Wac740 Premium Business Wave 2 11ac Dual Band
400x510 Netgear Prosafe Wac740 Premium Business Wave 2 11ac Dual Band
425x425 Netgear Wac505 100nas Insight Wifi Access Router (White)
425x425 Netgear Wac505 100nas Insight Wifi Access Router (White)
300x300 P870hn 51b
300x300 P870hn 51b
500x375 Pppoe On Actiontec Gt704 Wg Burrowowl
500x375 Pppoe On Actiontec Gt704 Wg Burrowowl
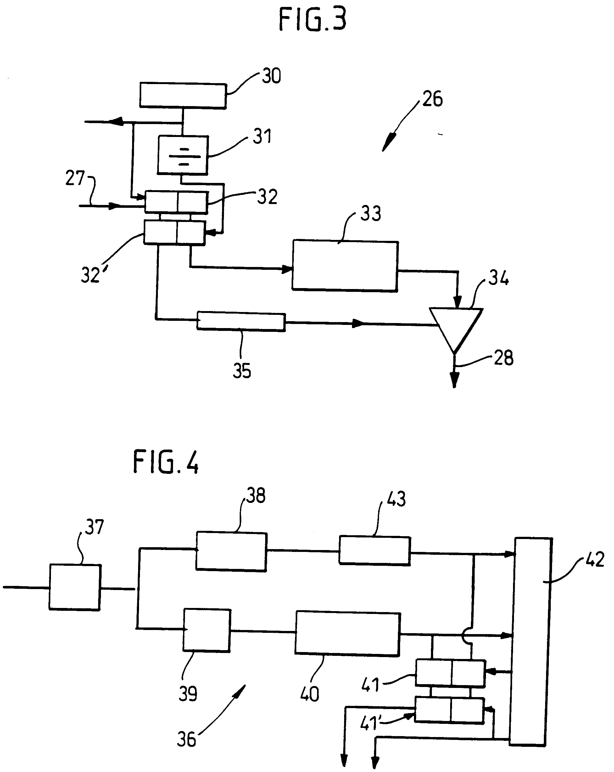
1952x2452 Patent Ep0545783a1
1952x2452 Patent Ep0545783a1
236x215 Pin By Braowe Cangut On Sketches Heart Shapes, Draw
236x215 Pin By Braowe Cangut On Sketches Heart Shapes, Draw
550x468 Repotec Rp Wr5822 Wireless Ac1200, 4x Gigabit Lan, Dual Band, Ap
550x468 Repotec Rp Wr5822 Wireless Ac1200, 4x Gigabit Lan, Dual Band, Ap
640x480 Tp Link Td W8951nd 150mbps Wireless N Adsl2  Modem Router
640x480 Tp Link Td W8951nd 150mbps Wireless N Adsl2 Modem Router
850x995 The Toto Link Nd150 Wireless N Adsl2 Modem Router Lets You Fast
850x995 The Toto Link Nd150 Wireless N Adsl2 Modem Router Lets You Fast
528x451 Unlocked Huawei E8372 150mbps Modem 4g E8372s 153 4g Wifi Router
528x451 Unlocked Huawei E8372 150mbps Modem 4g E8372s 153 4g Wifi Router
550x423 Vonage Ca Support Answer Installation With The Vtech Ip8100
550x423 Vonage Ca Support Answer Installation With The Vtech Ip8100
500x500 Wifi Internet Modem Icon Vector Illustration Graphic Design Stock
500x500 Wifi Internet Modem Icon Vector Illustration Graphic Design Stock
500x500 Wired Router Sano Shop
500x500 Wired Router Sano Shop

Tags: modem

All rights to the published drawing images, silhouettes, cliparts, pictures and other materials on GetDrawings.com belong to their respective owners (authors), and the Website Administration does not bear responsibility for their use. All the materials are for personal use only. If you find any inappropriate content or any content that infringes your rights, and you do not want your material to be shown on this website, please contact the administration and we will immediately remove that material protected by copyright.

shutterstock thanksgiving day

Step by Step Tutorials

Drawing Hacks