Reinforced Concrete Stairs Detail Drawing

ADVERTISEMENT

Full color drawing pics
967x350 Foundation And Steel Connection Detail
967x350 Foundation And Steel Connection Detail
970x478 Reinforced Concrete Staircase Detail
970x478 Reinforced Concrete Staircase Detail
450x291 Double Stringer Timber Frame Stairs Detail Youssef
450x291 Double Stringer Timber Frame Stairs Detail Youssef
497x388 Reinforced Concrete Stairs Cross Section Reinforcement Detail
497x388 Reinforced Concrete Stairs Cross Section Reinforcement Detail
955x617 Stairs
955x617 Stairs
680x830 Typical Rc Stair Detail
680x830 Typical Rc Stair Detail
1024x662 Reinforced Concrete Beam Column End Support Detail
1024x662 Reinforced Concrete Beam Column End Support Detail
707x1123 Reinforced Concrete Staircase Detail Dwg Detail For Autocad
707x1123 Reinforced Concrete Staircase Detail Dwg Detail For Autocad
736x549 Best Concrete Stairs Images On Concrete Stairs
736x549 Best Concrete Stairs Images On Concrete Stairs
900x582 Exterior Cantilever Staircase With Shear Wall Center Support
900x582 Exterior Cantilever Staircase With Shear Wall Center Support
503x330 Rcc Roof Slab Drawing.rcc Slab Design Android Apps On Google Play
503x330 Rcc Roof Slab Drawing.rcc Slab Design Android Apps On Google Play
1366x768 Mtv Revit Structure 2014 L1 Ch7 06 Stair Reinforcement
1366x768 Mtv Revit Structure 2014 L1 Ch7 06 Stair Reinforcement
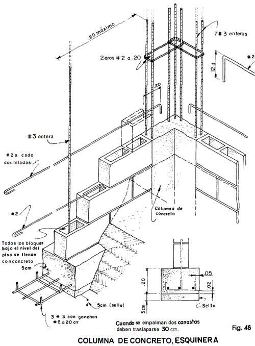
236x225 Square Reinforced Concrete Column Details Get These Square
236x225 Square Reinforced Concrete Column Details Get These Square
1600x1200 Starter Bars
1600x1200 Starter Bars
Line drawing pics
213x300 Constructor Dreams July 2017
213x300 Constructor Dreams July 2017
785x620 Stair Detail Steel Stair Detail Staircase Steel Stair Details
785x620 Stair Detail Steel Stair Detail Staircase Steel Stair Details
529x659 Pin By
529x659 Pin By
736x1230 149 Best Construction Detail Images On Architecture
736x1230 149 Best Construction Detail Images On Architecture
500x636 249 Best Images On Civil Engineering
500x636 249 Best Images On Civil Engineering
736x927 8 Best Rebar Images On Civil Engineering, Beams
736x927 8 Best Rebar Images On Civil Engineering, Beams
467x499 Floating Barrier Wave Cutting Reinforced Concrete Structure
467x499 Floating Barrier Wave Cutting Reinforced Concrete Structure
500x678 44 Best Detalles Constructivos Images On Civil
500x678 44 Best Detalles Constructivos Images On Civil
736x943 62 Best Images On Stairs, Architecture
736x943 62 Best Images On Stairs, Architecture
261x300 Advantages And Disadvantages Of Reinforced Concrete
261x300 Advantages And Disadvantages Of Reinforced Concrete
1000x1294 Architectural Research Amp Documentation Lawrence Vaughan Griffin
1000x1294 Architectural Research Amp Documentation Lawrence Vaughan Griffin
1280x1600 Cavity Wall Brick Veneersteel Stud
1280x1600 Cavity Wall Brick Veneersteel Stud
236x295 Cement Block Resistance To Wind
236x295 Cement Block Resistance To Wind
236x295 Concrete Wall Section Detail Detailed Wall Sections
236x295 Concrete Wall Section Detail Detailed Wall Sections
3400x2200 Gorsline House Gorslinehouse Page 5
3400x2200 Gorsline House Gorslinehouse Page 5
500x386 Inclination And Evolution A Stair Design The Architects' Take
500x386 Inclination And Evolution A Stair Design The Architects' Take
1275x1650 Nih Standard Cad Details
1275x1650 Nih Standard Cad Details
1952x2512 Patent Ep0937839b1
1952x2512 Patent Ep0937839b1
650x841 Precast Concrete Steps Concrete Steps Precast Concrete Stair
650x841 Precast Concrete Steps Concrete Steps Precast Concrete Stair
9809x3449 Rac Jmv English
9809x3449 Rac Jmv English
614x461 Spread Footings Reinforced Concrete Concrete
614x461 Spread Footings Reinforced Concrete Concrete
600x449 Slope Details Cad Design Free Cad Blocks,drawings,details
600x449 Slope Details Cad Design Free Cad Blocks,drawings,details
695x900 Spiral Staircase Detail Drawing Stairs Brown Untitled 3
695x900 Spiral Staircase Detail Drawing Stairs Brown Untitled 3
644x1053 Stair Sections Construction Drawing Metal Stair Section Detail
644x1053 Stair Sections Construction Drawing Metal Stair Section Detail
630x476 Steel Staircase Dimensions Patent Us20090293385 Boltless Metal
630x476 Steel Staircase Dimensions Patent Us20090293385 Boltless Metal
550x940 The 20 Best Steel And Glass Details Images
550x940 The 20 Best Steel And Glass Details Images
236x288 Tile Floor Section Detail
236x288 Tile Floor Section Detail
236x317 Truss Structure Details V7 Detail, Roof Design
236x317 Truss Structure Details V7 Detail, Roof Design
236x295 Structural Brick Wall Detail
236x295 Structural Brick Wall Detail

All rights to the published drawing images, silhouettes, cliparts, pictures and other materials on GetDrawings.com belong to their respective owners (authors), and the Website Administration does not bear responsibility for their use. All the materials are for personal use only. If you find any inappropriate content or any content that infringes your rights, and you do not want your material to be shown on this website, please contact the administration and we will immediately remove that material protected by copyright.

shutterstock thanksgiving day

Step by Step Tutorials

Drawing Hacks