Tv Drawing

ADVERTISEMENT

Full color drawing pics
1139x711 Frameless Mirror Tv Hidden Television
1139x711 Frameless Mirror Tv Hidden Television
640x360 How To Draw A Tv Step By Step How To Draw Faster
640x360 How To Draw A Tv Step By Step How To Draw Faster
215x382 How To Draw A Tv, Living Room, Items, Easy Step By Step Drawing
215x382 How To Draw A Tv, Living Room, Items, Easy Step By Step Drawing
1280x720 How To Draw A Tv Simple Drawing Tutorial
1280x720 How To Draw A Tv Simple Drawing Tutorial
1280x720 How To Draw A Tv Television Easy Draw Tutorial
1280x720 How To Draw A Tv Television Easy Draw Tutorial
480x360 How To Draw A Retro Radio Real Easy Shoo Rayner Author
480x360 How To Draw A Retro Radio Real Easy Shoo Rayner Author
320x366 I Dunno Why Tv Heads Are So Cool, But I Just Had To Draw One.
320x366 I Dunno Why Tv Heads Are So Cool, But I Just Had To Draw One.
450x343 Tv Set Drawing In Color Stock Vector Cmeree
450x343 Tv Set Drawing In Color Stock Vector Cmeree
500x667 Tv Drawings
500x667 Tv Drawings
638x479 Unit 6 Isometric Views
638x479 Unit 6 Isometric Views
680x502 Maybe You Know Much About 3d Tv, But What About 3d Drawing
680x502 Maybe You Know Much About 3d Tv, But What About 3d Drawing
305x600 Transparent Tv Head
305x600 Transparent Tv Head
Line drawing pics
1024x1024 Contour Line Render Of Classic Tv By Lgtaegi Graphicriver
1024x1024 Contour Line Render Of Classic Tv By Lgtaegi Graphicriver
385x299 Classic Retro Tv Drawing Stock Vectors
385x299 Classic Retro Tv Drawing Stock Vectors
600x403 Dream Tv Adaptations We Want To See
600x403 Dream Tv Adaptations We Want To See
566x413 Free Drawing Of Tv Viewers Bw From The Category Occupations +
566x413 Free Drawing Of Tv Viewers Bw From The Category Occupations +
960x960 Motion Wall Tv Bracket Cantilever Mount Upto 50
960x960 Motion Wall Tv Bracket Cantilever Mount Upto 50
784x591 Tv Table Construction Example, Drawings For Scaffolding Pipes
784x591 Tv Table Construction Example, Drawings For Scaffolding Pipes
506x544 The Country
506x544 The Country
450x253 Help Me Draw Background Amp Movement In Tv
450x253 Help Me Draw Background Amp Movement In Tv
752x900 A Lion On The Couch Of A Living Room Watches Tv Drawing By Liana Finck
752x900 A Lion On The Couch Of A Living Room Watches Tv Drawing By Liana Finck
508x1000 Buffy The Vampire Slayer
508x1000 Buffy The Vampire Slayer
1264x908 Buffy The Vampire Slayer
1264x908 Buffy The Vampire Slayer
768x1024 Drawing Princess Dress
768x1024 Drawing Princess Dress
791x1024 Flash Coloring Page With The Flash The Cw Tv Series Tutorial
791x1024 Flash Coloring Page With The Flash The Cw Tv Series Tutorial
752x1063 Goliath
752x1063 Goliath
226x307 Gundam Drawing By Axeraider70
226x307 Gundam Drawing By Axeraider70
2200x1700 How To Draw Pennywise The Clown (It [1990] Tv Mini Series) Drawing
2200x1700 How To Draw Pennywise The Clown (It [1990] Tv Mini Series) Drawing
800x427 Illustration Of A Plain Sketch Of A Boy Watching Tv On A White
800x427 Illustration Of A Plain Sketch Of A Boy Watching Tv On A White
1300x1079 Kid Watching Tv
1300x1079 Kid Watching Tv
598x844 Learn How To Draw Lori Loud From The Loud House (The Loud House
598x844 Learn How To Draw Lori Loud From The Loud House (The Loud House
729x584 Neutral Drawing Of An Older Man. The Middle School Student Who
729x584 Neutral Drawing Of An Older Man. The Middle School Student Who
800x691 Off Tv Cabinet Cad 3d Drawings, Autocad Drawing, Autocad Dwg
800x691 Off Tv Cabinet Cad 3d Drawings, Autocad Drawing, Autocad Dwg
1500x1102 Old Sytle Tv Coloring Page Free Printable Coloring Pages
1500x1102 Old Sytle Tv Coloring Page Free Printable Coloring Pages
2079x1483 Paint Coloring Pages Fire Kids Tv
2079x1483 Paint Coloring Pages Fire Kids Tv
520x455 Phineas
520x455 Phineas
1348x1600 Retro Tv Sketch Vector
1348x1600 Retro Tv Sketch Vector
495x396 Swivel And Tilt Lcd Plasma Tv Bracket 42 Inch To 60 Inch Av
495x396 Swivel And Tilt Lcd Plasma Tv Bracket 42 Inch To 60 Inch Av
800x692 Tv Cabinet Height Cad 3d Drawings, Autocad Drawing, Autocad Dwg
800x692 Tv Cabinet Height Cad 3d Drawings, Autocad Drawing, Autocad Dwg
821x1000 Tv Coloring Pages Coloring Pages To Download And Print
821x1000 Tv Coloring Pages Coloring Pages To Download And Print
350x500 Tv Socket Outlets Tv 40 862mhz Through Line Outlet 20db W
350x500 Tv Socket Outlets Tv 40 862mhz Through Line Outlet 20db W
630x510 Tv Coloring Page Coloring Pages Blues Got A Hug Blues Clues
630x510 Tv Coloring Page Coloring Pages Blues Got A Hug Blues Clues
595x842 Tv Coloring Page On The Table Coloring Page Chips Tv Show Coloring
595x842 Tv Coloring Page On The Table Coloring Page Chips Tv Show Coloring
736x981 Tv Coloring Pages This Coloring Page For Kids Features A Classic
736x981 Tv Coloring Pages This Coloring Page For Kids Features A Classic
1761x1472 Tv Remote Drawing Clipart Panda
1761x1472 Tv Remote Drawing Clipart Panda
1877x2400 Watching Tv Drawing Boy Watching Tv Drawing
1877x2400 Watching Tv Drawing Boy Watching Tv Drawing
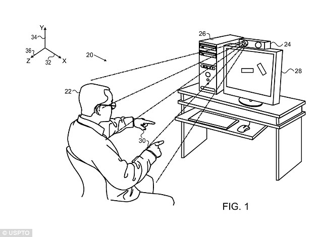
634x470 Wave To Your Tv! Apple Patents
634x470 Wave To Your Tv! Apple Patents
1300x1300 Wooden Cabinet With Lockers And Cupboards.tv Stand.bedroom
1300x1300 Wooden Cabinet With Lockers And Cupboards.tv Stand.bedroom
1600x1700 Wooden Tv Cabinet With Tv Icon, Isometric 3d Style Stock Vector
1600x1700 Wooden Tv Cabinet With Tv Icon, Isometric 3d Style Stock Vector
1000x1020 Jtcanvas Tv Sketching Hands For Slash
1000x1020 Jtcanvas Tv Sketching Hands For Slash
389x500 Shut The Kids Up. Drawing
389x500 Shut The Kids Up. Drawing

Tags: tv

All rights to the published drawing images, silhouettes, cliparts, pictures and other materials on GetDrawings.com belong to their respective owners (authors), and the Website Administration does not bear responsibility for their use. All the materials are for personal use only. If you find any inappropriate content or any content that infringes your rights, and you do not want your material to be shown on this website, please contact the administration and we will immediately remove that material protected by copyright.

shutterstock thanksgiving day

Step by Step Tutorials

Drawing Hacks